Запчасти Case 440 (07-01) - BRAKE SYSTEM - HYDRAULIC (07) - BRAKES

Схема запчастей Case 440 - (07-01) - BRAKE SYSTEM - HYDRAULIC (07) - BRAKES
17
10
6
1
24
23
20
8
7
19a
20a
2
3
4
10
9
15
19
9
1
2
14
8
12
21
22
16
2
5
18
13
1
11
FIT
1:1
100%

Артикул

Название

Примечание

Количество

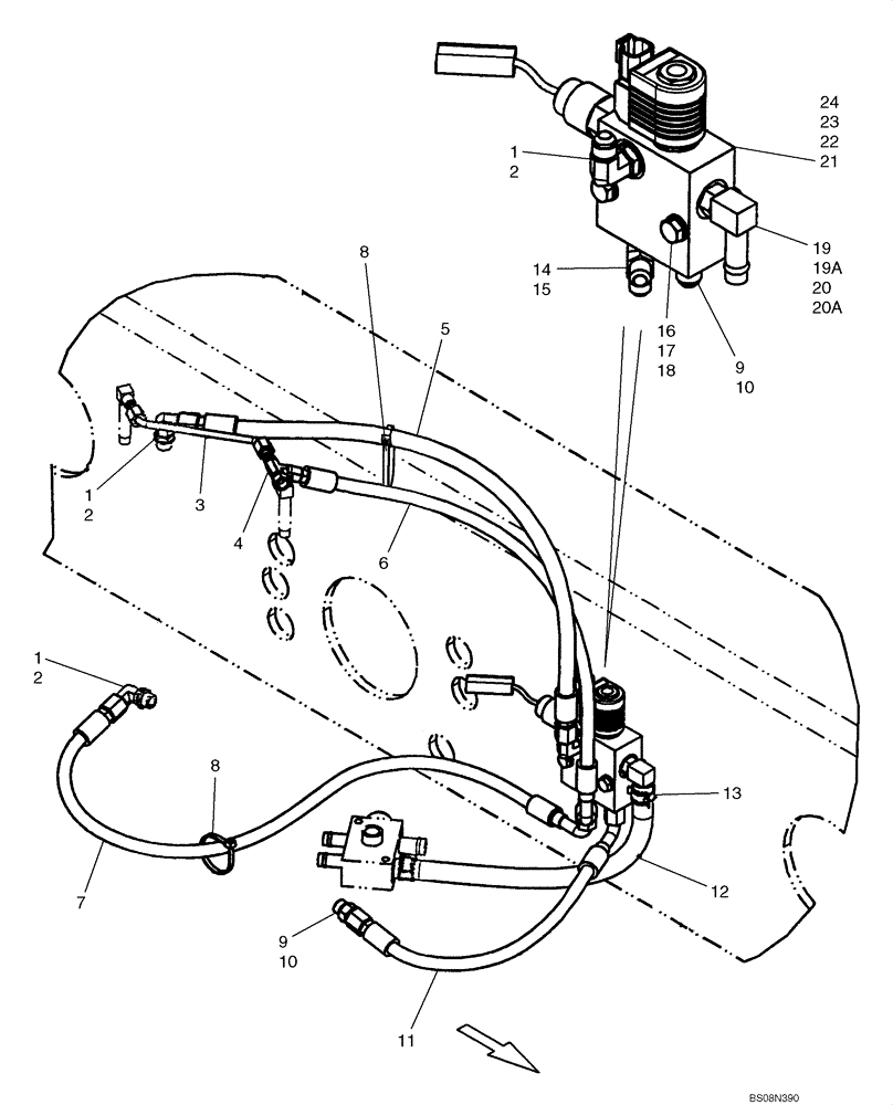
1

76344

90 ELBOW,9/16" - 18 JIC x 9/16" - 18 ORB

Incl. 2

4шт.

2

9617873

O-RING,0.078" Thk x 0.468" ID, -906, Cl 6, 90 Duro

1шт.

3

87021277

TUBE,6.35mm OD x 124.9mm L, 37 Degree Flare

1шт.

4

86513653

TEE,7/16" - 20 JIC x 7/16" - 20 JIC x 7/16" - 20 JIC

1шт.

5

87459910

HOSE ASSY.

635 mm (25 in); Charge

1шт.

6

87441276

HOSE ASSY.

580 mm (22.83 in); NOR

1шт.

7

87022436

HOSE ASSY.

815 mm (32 in); Brake

1шт.

8

L18331

CABLE TIE,375.9mm L, Nylon, Black

CABLE STRAP If Used

1шт.

8

L11541

CABLE TIE,203.2mm L, Nylon

CABLE STRAP If Used

2шт.

9

76350

HYD CONNECTOR,9/16" - 18 ORB x 9/16" - 18 JIC

Incl 10

1шт.

10

9617873

O-RING,0.078" Thk x 0.468" ID, -906, Cl 6, 90 Duro

1шт.

11

87022437

HOSE ASSY.

420 mm (16.53 in); Brake; If Used

1шт.

11

87749004

HOSE

300 mm (11.81 in); Brake; If Used

1шт.

12

87022177

HOSE,12.7mm ID x 340mm L

Drain

1шт.

13

87443510

HOSE CLAMP,18.4mm Static ID x 15mm W

2шт.

14

86513020

TEE,9/16" - 18 ORB x 9/16" - 18 JIC x 9/16" - 18 JIC

Incl. 15

1шт.

15

9617873

O-RING,0.078" Thk x 0.468" ID, -906, Cl 6, 90 Duro

1шт.

16

43130

BOLT,Hex, M8 x 1.25 x 50mm, Cl 8.8

2шт.

17

86624185

WASHER,8.8mm ID x 17.5mm OD x 2mm Thk

If Used

2шт.

17

140016

WASHER,M8 x 16mm OD x 1.6mm Thk

If Used

2шт.

18

229197A1

SQUARE NUT,M8 x 1.25, Cl 8

M8

2шт.

19

217-374

FITTING,90 Degree Elbow, 1/2" Hose Barb x 9/16" - 8 Male ORB

Incl 20; If Used

1шт.

19a

86705580

FITTING,90 Degree, 1/2" Hose Bead x 9/16" - 18 ORB

Incl 20A; If Used

1шт.

20

237-6006

O-RING,0.078" Thk x 0.468" ID, -906, Cl 6, 90 Duro

Use With 19; If Used

1шт.

20a

9617873

O-RING,0.078" Thk x 0.468" ID, -906, Cl 6, 90 Duro

Use With 19A; If Used

1шт.

21

87021047

BRAKE VALVE

Incl 22 - 24

1шт.

22

87424182

BRAKE VALVE

Solenoid

1шт.

23

87433496

COIL

1шт.

24

87458061

PRESSURE SWITCH

Brake Valve; Incl. O-Ring Which Is Not Serviced Separately

1шт.

Выбрано товаров: 29