Запчасти Case 450 (09-09) - CHASSIS (450) (09) - CHASSIS

Схема запчастей Case 450 - (09-09) - CHASSIS (450) (09) - CHASSIS
13
5
10
4
6
11
5
15
12
1
5
9
6
6
14
8
5
3
2
6
5
FIT
1:1
100%

Артикул

Название

Примечание

Количество

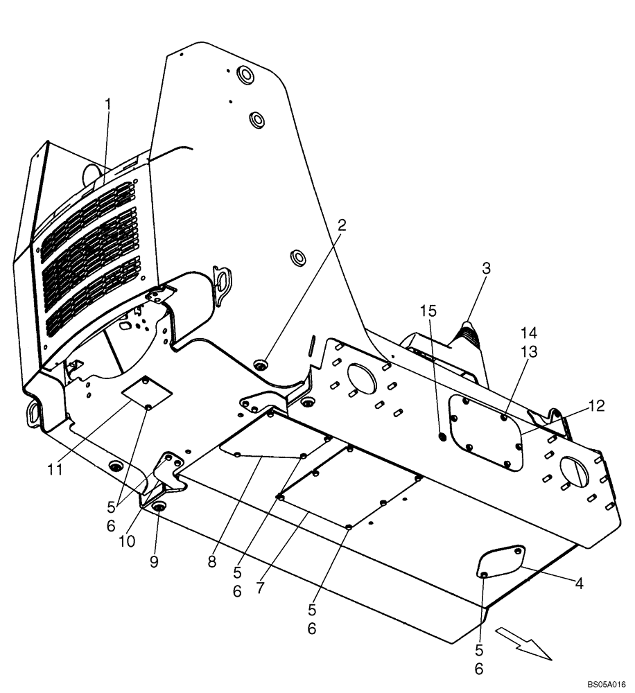
1

REF

INSTRUCTION

Rear Door; See Figure 09-15

1шт.

2

87432221

PLUG

Magnetic

2шт.

3

192654A2

BELLOWS

2шт.

3

87577502

RUBBER PAD

Used With Handles On 04-15B, 04-16B

2шт.

4

247609A1

COVER

2шт.

5

43260

BOLT,Hex, M12 x 1.75 x 30mm, Cl 10.9, Full Thd

18шт.

6

86625255

WASHER,13.3mm ID x 24.5mm OD x 3mm Thk

18шт.

7

87458102

PLATE

1шт.

8

87458100

PLATE

1шт.

9

86625135

PLUG,1" - 11-1/2 NPT

2шт.

10

189422A1

COVER

2шт.

11

H436914

LARGE PLATE

PLATE, LARGE

2шт.

12

87411208

COVER PLATE

2шт.

13

140046

BELLEVILLE WASHER,M12 Bolt Size x 27mm OD x 1.8mm Thk

12шт.

14

87030508

BOLT,Hvy Hex, M12 x 30mm, Full Thd, Cl 10.9

12шт.

15

217-466

DRAIN PLUG,Sq Soc, 1/2" - 14, NTPF

2шт.

175761A2

STUD

M16 x 50; Axle Studs

32шт.

Выбрано товаров: 0