Запчасти Case 465 (06-10) - HYDROSTATICS - PUMP FITTINGS (PILOT CONTROL) (06) - POWER TRAIN

Схема запчастей Case 465 - (06-10) - HYDROSTATICS - PUMP FITTINGS (PILOT CONTROL) (06) - POWER TRAIN
14
3
6
24
13
8
15
17
5
16
10
9
22
8
7
2
4
6
19
15
9
18
23
14
12
21
11
7
20
1
16
FIT
1:1
100%

Артикул

Название

Примечание

Количество

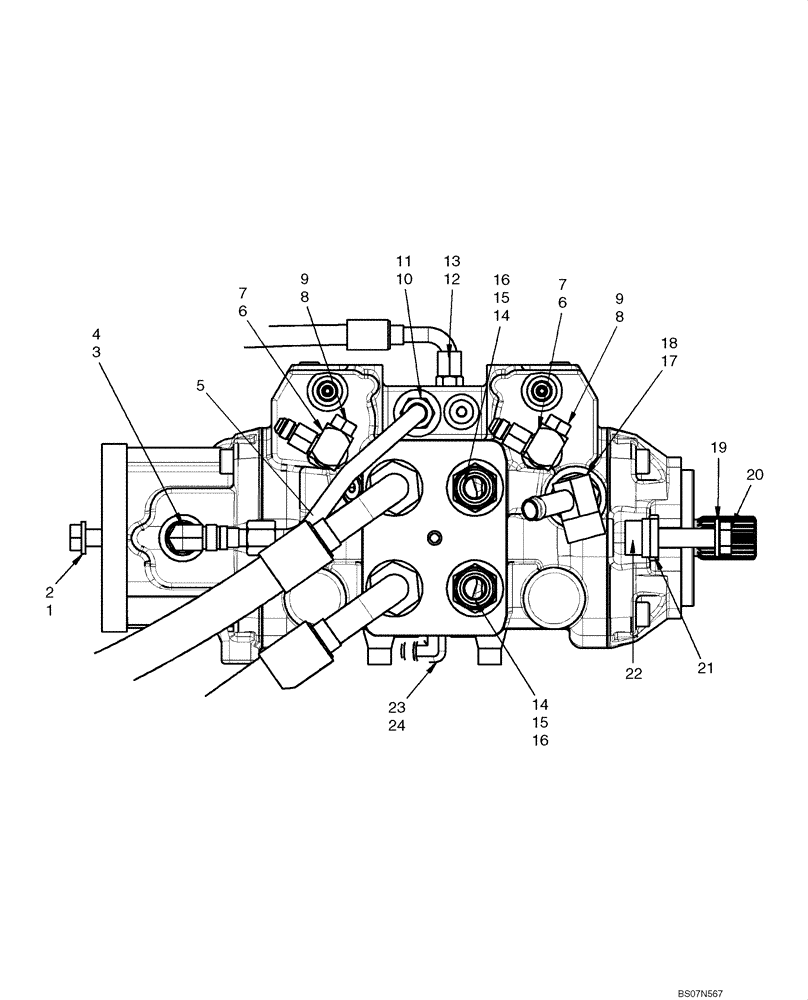
1

87670

BOLT,1/2" - 13 x 1-1/4", Full Thd, Gr 5

2шт.

2

86625255

WASHER,13.3mm ID x 24.5mm OD x 3mm Thk

2шт.

3

128830

90 ELBOW,3/4" - 16 JIC x 3/4" - 16 ORB

Incl. 4

1шт.

4

128825

O-RING,0.087" Thk x 0.644" ID, -908, Cl 6, 90 Duro

1шт.

5

87554297

HYD TUBE,10.2 mm ID x 12.7 mm OD x 147, 99.2 mm L

Tandem Pump Supply

1шт.

6

87546979

ADAPTER

Incl 7

2шт.

7

165202

O-RING,0.072" Thk x 0.351" ID, -904, Cl 6, 90 Duro

1шт.

8

76349

PLUG,9/16" - 18 ORB

Incl. 9

2шт.

9

9617873

O-RING,0.078" Thk x 0.468" ID, -906, Cl 6, 90 Duro

1шт.

10

128818

UNION,3/4" - 16 ORB x 3/4" - 16 JIC

128825

1шт.

11

128825

O-RING,0.087" Thk x 0.644" ID, -908, Cl 6, 90 Duro

1шт.

12

76350

HYD CONNECTOR,9/16" - 18 ORB x 9/16" - 18 JIC

Incl 13

1шт.

13

9617873

O-RING,0.078" Thk x 0.468" ID, -906, Cl 6, 90 Duro

1шт.

14

9840535

HYD CONNECTOR,1-3/16" - 12 ORFS x 1-1/16" - 12 ORB

Incl. 15, 16

4шт.

15

9991976

O-RING,0.07" Thk x 0.739" ID, -18, Cl 6, 90 Duro

1шт.

16

167266

O-RING,0.116" Thk x 0.924" ID, -912, Cl 6, 90 Duro

1шт.

17

87571937

ADAPTER

Incl 18

1шт.

18

167266

O-RING,0.116" Thk x 0.924" ID, -912, Cl 6, 90 Duro

1шт.

19

87016615

WASHER,15.3mm ID x 28.5mm OD x 3mm Thk

2шт.

20

87556906

BOLT,Hex, M14 x 70mm, Cl 10.9

2шт.

21

87564723

WASHER,15.3mm ID x 28.5mm OD x 6mm Thk

15.3 X 28.5 X 6mm

4шт.

22

87637186

NUT

M14

2шт.

23

76344

90 ELBOW,9/16" - 18 JIC x 9/16" - 18 ORB

Incl. 24

1шт.

24

9617873

O-RING,0.078" Thk x 0.468" ID, -906, Cl 6, 90 Duro

1шт.

Выбрано товаров: 24