Качественные детали и логистика
Оригинальные и аналоговые запчасти с доставкой по России, Казахстану и Беларуси
©2022 PartSell ООО "Система" ИНН 2463123282 ОГРН 1212400004838
Центральный офис: г. Красноярск, Академика Киренского, д.87, пом.4
Телефон: 8 (800) 777-65-74 Email: zakaz@partsell.ru
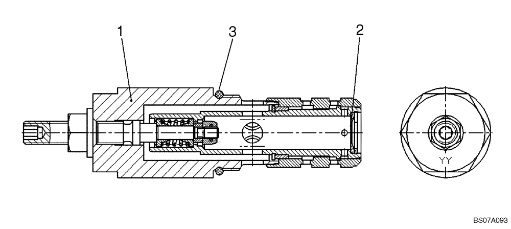
(06-30) - PUMP, TANDEM - CONTROL CARTRIDGE WITH ORIFICE (87546977)
№
Артикул
Название
Примечание
Количество
87614031
VALVE PRESSURE RELIE
Control Cartridge With Orifice; Incl. 1 - 3
1шт.
1
NSS
NOT SOLD SEPARAT
Control Cartridge Without Orifice
2
87597285
RING
Back Up
3
87597284
O-RING
Выбрано товаров: 0