Запчасти Case 465 (08-32) - CONTROL VALVE - SPOOL END GROUP (08) - HYDRAULICS

Схема запчастей Case 465 - (08-32) - CONTROL VALVE - SPOOL END GROUP (08) - HYDRAULICS
3
4
7
4
2
7
1
1
1
5
3
5
2
6
6
FIT
1:1
100%

Артикул

Название

Примечание

Количество

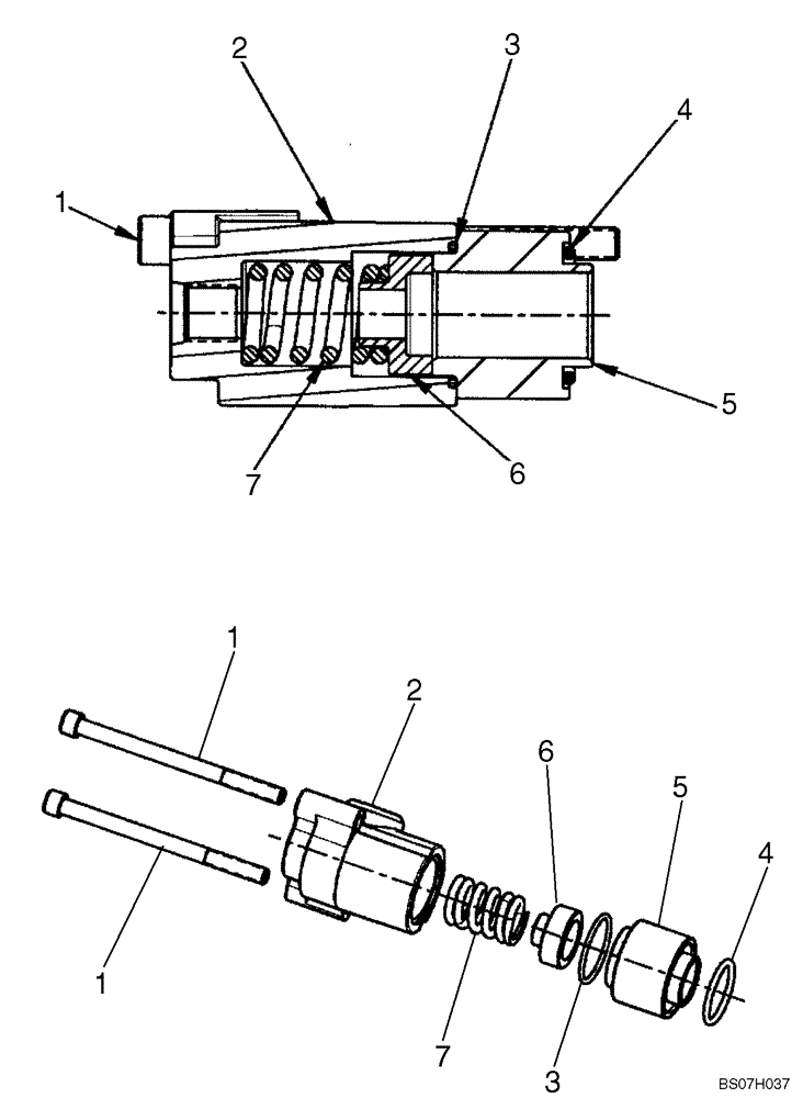
87610531

SPOOL

End Group; Incl. 1 - 7

1шт.

1

NSS

NOT SOLD SEPARAT

Cap Screw

2шт.

2

NSS

NOT SOLD SEPARAT

Spool Cap

1шт.

3

NSS

NOT SOLD SEPARAT

O-Ring

1шт.

4

NSS

NOT SOLD SEPARAT

O-Ring

1шт.

5

NSS

NOT SOLD SEPARAT

Retainer

1шт.

6

NSS

NOT SOLD SEPARAT

Spring Seat

1шт.

7

NSS

NOT SOLD SEPARAT

Spring

1шт.

Выбрано товаров: 8