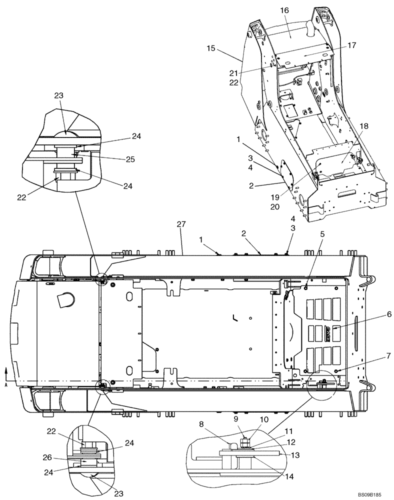
Запчасти Case 465 (09-05) - CHASSIS (09) - CHASSIS

Схема запчастей Case 465 - (09-05) - CHASSIS (09) - CHASSIS
21
4
24
3
4
15
10
26
7
22
16
23
5
20
14
3
22
24
24
1
19
24
25
23
11
27
1
2
2
8
18
17
9
13
6
12
22
FIT
1:1
100%

Артикул

Название

Примечание

Количество

87618946

SERVICE KIT

Chassis; Incl Main Frame, Fuel Cap, Hydraulic Cap, Fuel Sender And Gasket

1шт.

1

647429

DRAIN PLUG,Sq Soc HD, 1/2" - 14, NPTF

Pipe, 1/2 NPTF

2шт.

2

87411208

COVER PLATE

2шт.

3

87030508

BOLT,Hvy Hex, M12 x 30mm, Full Thd, Cl 10.9

12шт.

4

140046

BELLEVILLE WASHER,M12 Bolt Size x 27mm OD x 1.8mm Thk

12шт.

5

386045

BOLT,Hex, M8 x 1.25 x 45mm, Cl 8.8

1шт.

6

87712693

PLATE

Floor

1шт.

7

43128

BOLT,M8 x 1.25 x 30mm, Cl 8.8

3шт.

8

294911A2

HOOK

Latch Return Plate

1шт.

9

294943A1

STUD

Latch Mounting

1шт.

10

100016

NUT,M10 x 1.5, Cl 8

2шт.

11

278332A1

SPRING WASHER

1шт.

12

294967A1

WASHER

1шт.

13

294910A1

LATCH

1шт.

14

87381

WASHER,0.81" ID x 1.47" OD x 0.13" Thk

1шт.

15

87672459

FRAME

Chassis

1шт.

16

REF

INSTRUCTION

Hood; See Fig 09-14

1шт.

17

87661312

PLATE

ROPS Filler; If Used

1шт.

17

87473801

HEAT SHIELD

1шт.

18

87715353

COVER

Heel Plate

1шт.

19

86625263

WASHER,9mm ID x 20mm OD x 1.6mm Thk

6шт.

20

43127

BOLT,Hex, M8 x 1.25 x 25mm, Cl 8.8

2шт.

21

120044

CARRIAGE BOLT,M12 x 1.75 x 30mm, Cl 8.8

8шт.

22

43436

FLANGE NUT,M12

10шт.

23

334682

CARRIAGE BOLT,Sht Nk, M12 x 1.75 x 50mm, Cl 8.8, Full Thd

2шт.

24

86625255

WASHER,13.3mm ID x 24.5mm OD x 3mm Thk

13-17шт.

25

87671585

SPACER

1шт.

26

87671584

SPACER

Pivot Bushing

1шт.

27

87758381

SCREW,1"

Button Socket

4шт.

Выбрано товаров: 29