Запчасти Case 465 (04-26) - ROTATING BEACON (04) - ELECTRICAL SYSTEMS

Схема запчастей Case 465 - (04-26) - ROTATING BEACON (04) - ELECTRICAL SYSTEMS
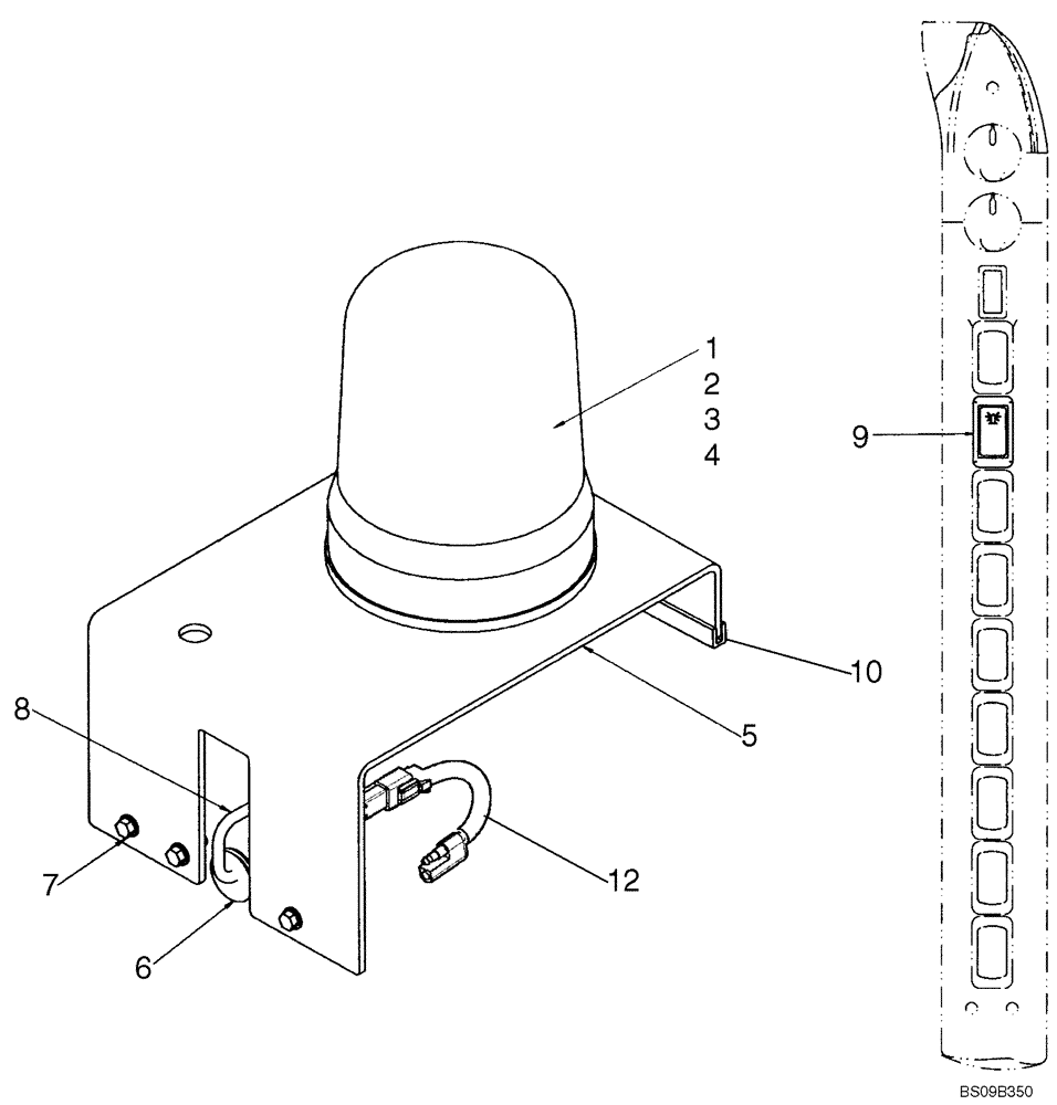
10
2
6
4
5
1
7
3
12
9
8
FIT
1:1
100%

Артикул

Название

Примечание

Количество

87638500

SERVICE KIT

Rotating Beacon; Incl 1 - 10

1шт.

1

E99128

BEACON ROTATING

; Incl 2 - 4; If Used

1шт.

1

84125459

BEACON

Rotating Beacon

1шт.

2

E99208

LENS

1шт.

3

3125705R1

BULB

1шт.

4

E38908

SEAL

SPARE PART

1шт.

5

87682712

BRACKET

Beacon Support; If Used

1шт.

5

87493781

ANGLE

Beacon Support

1шт.

6

87530614

GROMMET

.25 Diag Split; If Used

1шт.

6

87723416

GROMMET

25.4 x 6.35 x 8.0; If Used

1шт.

6

87483190

GROMMET

25.4 OD x 11.5 ID x 8.0; If Used

1шт.

6

87497179

GROMMET

Grommet, 25.4 OD X 5.25 ID X 8.0

1шт.

7

86625224

SELF-TAP SCREW,HWH, 1/4" - 20 x 3/4"

Hex Head #1/4-20 X 3/4

3шт.

8

293828A1

HARNESS

Rotating Beacon; If Used

1шт.

8

87495407

HARNESS

Rotating Beacon; If Used

1шт.

9

133714A1

BEACON SWITCH

Rocker, Rotating Beacon

1шт.

10

87497309

TRIM

Bracket Edge Trim; Replaces 293470A1

1шт.

11

87301341

ADHESIVE

Seal Butyl Rubber Rope 1mm Used; Add Rope To Inside Of Grommet; Not Illustrated; Not Incl In Kit; If Used

1шт.

12

84151809

HARNESS

Rotating Beacon Harness

1шт.

Выбрано товаров: 19