Запчасти Case 465 (06-21) - MOTOR ASSY - SINGLE SPEED (06) - POWER TRAIN

Схема запчастей Case 465 - (06-21) - MOTOR ASSY - SINGLE SPEED (06) - POWER TRAIN
6
14
12
2
18
8
3
17
10
15
16
1
13
7
9
19
FIT
1:1
100%

Артикул

Название

Примечание

Количество

87035343

MOTOR, HYDRAULIC

One Speed; Incl. Figure 06-19 - 06-21; Models With Split Pump Configuration

2шт.

87035343R

REMAN-HYD MOTOR

Reman for New PN 87035343

2шт.

87035343C

CORE-MOTOR HYDRAULIC

Return Number

2шт.

87367732

HYDRAULIC MOTOR

One Speed; Incl. Figure 06-19 - 06-21; Models With In-Line Pump Configuration

2шт.

87367732R

REMAN-HYD MOTOR

Remanufactured Hydraulic Motor

2шт.

87367732C

CORE-MOTOR HYDRAULIC

Return Number

2шт.

87039366

KIT

Rotating Kit; Incl. 1 - 3

1шт.

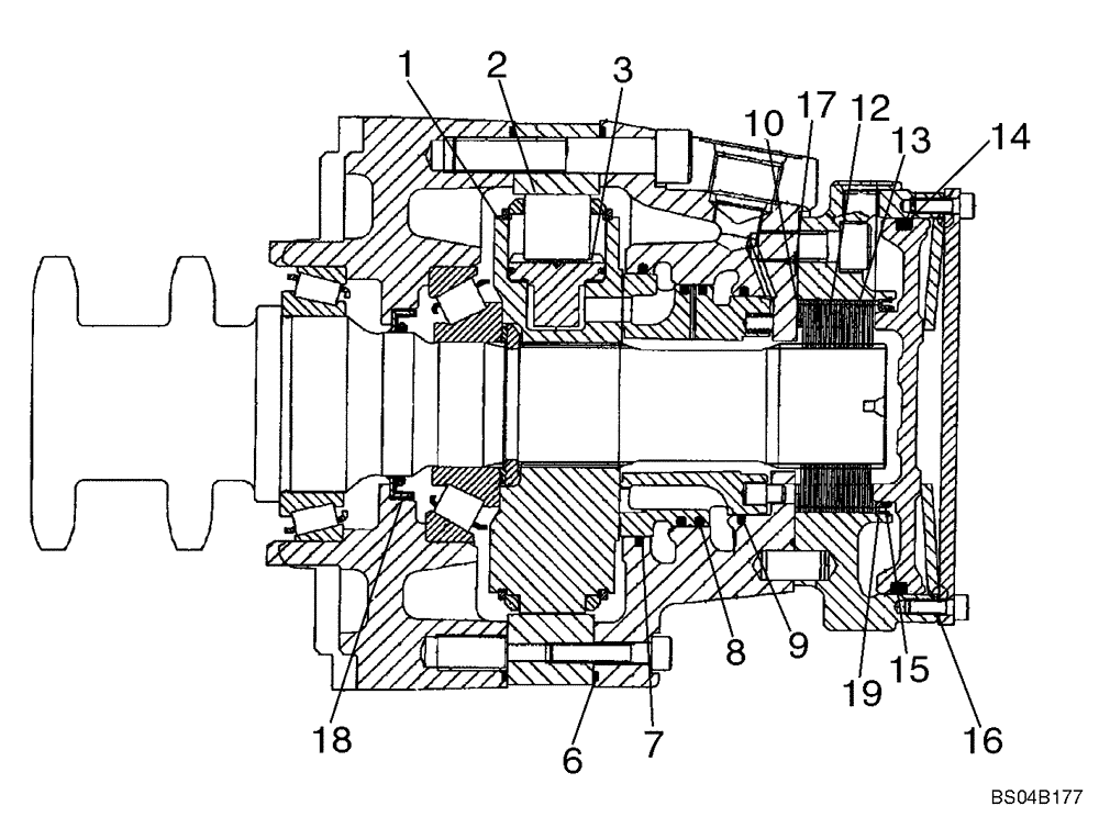
1

NSS

NOT SOLD SEPARAT

Cylinder Block

1шт.

2

NSS

NOT SOLD SEPARAT

Roll

8шт.

3

NSS

NOT SOLD SEPARAT

Piston S/A

8шт.

87039370

SEAL KIT

Seal; Incl. 4 - 9

1шт.

4

NSS

NOT SOLD SEPARAT

O-Ring; 11.90 x 1.98; For Illustration, See Figure 06-20, Ref 12

1шт.

5

NSS

NOT SOLD SEPARAT

O-Ring; 8.92 x 1.83; For Illustration, See Figure 06-20, Ref 7

1шт.

6

NSS

NOT SOLD SEPARAT

Square Ring; 213 x 2.51

2шт.

7

NSS

NOT SOLD SEPARAT

Rod Seal; 105

1шт.

8

NSS

NOT SOLD SEPARAT

Piston Seal; 96.5

1шт.

9

NSS

NOT SOLD SEPARAT

Rod Seal; 87.15

1шт.

87039372

KIT

Brake Kit; Incl. 10 - 16

1шт.

10

NSS

NOT SOLD SEPARAT

Shim; 80 x 63 x 0.1

1шт.

11

NSS

NOT SOLD SEPARAT

Shim; 80 x 63 x 0.3

1шт.

12

NSS

NOT SOLD SEPARAT

Inner Plate

14шт.

13

NSS

NOT SOLD SEPARAT

Outer Plate

16шт.

14

NSS

NOT SOLD SEPARAT

Square Ring; 139.07 x 5.16

1шт.

15

NSS

NOT SOLD SEPARAT

O-ring; 75.92 x 1.78

1шт.

16

NSS

NOT SOLD SEPARAT

Gasket; 0.5

1шт.

17

87042919

O-RING,1.78mm Thk x 107.67mm ID

107.67 x 1.78

1шт.

18

87042907

SEAL

57.15

1шт.

19

87042924

RING

Brake Seal Ring

1шт.

Выбрано товаров: 28