Запчасти Case 465 (06-24) - MOTOR ASSY - TWO SPEED (06) - POWER TRAIN

Схема запчастей Case 465 - (06-24) - MOTOR ASSY - TWO SPEED (06) - POWER TRAIN
7
15
14
12
4
19
20
1
3
16
5
8
13
18
2
9
17
21
6
FIT
1:1
100%

Артикул

Название

Примечание

Количество

87035344

HYDRAULIC MOTOR

Two Speed; Incl. Figure 06-22 - 06-24

2шт.

87035344R

REMAN-HYD MOTOR

Remanufactured Hydraulic Motor

2шт.

87035344C

CORE-MOTOR HYDRAULIC

Return Number

2шт.

87039367

KIT

Rotating; Incl. 1 - 3

1шт.

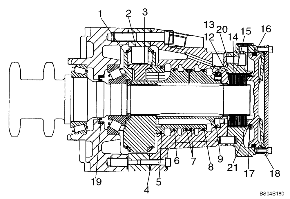
1

NSS

NOT SOLD SEPARAT

Cylinder Block

1шт.

2

NSS

NOT SOLD SEPARAT

Roll

8шт.

3

NSS

NOT SOLD SEPARAT

Piston S/A

8шт.

87039371

SEAL KIT

Incl. 4 - 11, 19

1шт.

4

NSS

NOT SOLD SEPARAT

Square Ring; 213 x 2.51

2шт.

5

NSS

NOT SOLD SEPARAT

Piston Seal; 107.25

1шт.

6

NSS

NOT SOLD SEPARAT

Piston Seal; 98.725

1шт.

7

NSS

NOT SOLD SEPARAT

Piston Seal; 97.725

2шт.

8

NSS

NOT SOLD SEPARAT

Piston Seal; 96.725

1шт.

9

NSS

NOT SOLD SEPARAT

Piston Seal; 87.25

1шт.

10

NSS

NOT SOLD SEPARAT

O-Ring; 11.90 x 1.98; For Illustration, See Figure 06-23, Ref 19

1шт.

11

NSS

NOT SOLD SEPARAT

O-Ring; 8.92 x 1.83; For Illustration, See Figure 06-23, Ref 14

1шт.

87039372

KIT

Brake; Incl. 12 - 18

1шт.

12

NSS

NOT SOLD SEPARAT

Shim; 80 x 63 x 0.1

1шт.

13

NSS

NOT SOLD SEPARAT

Shim; 80 x 63 x 0.3

1шт.

14

NSS

NOT SOLD SEPARAT

Inner Plate

14шт.

15

NSS

NOT SOLD SEPARAT

Outer Plate

16шт.

16

NSS

NOT SOLD SEPARAT

Square Ring; 139.07 x 5.16

1шт.

17

NSS

NOT SOLD SEPARAT

O-ring; 75.92 x 1.78

1шт.

18

NSS

NOT SOLD SEPARAT

Gasket; 0.5

1шт.

19

87042907

SEAL

57.15

1шт.

20

87042919

O-RING,1.78mm Thk x 107.67mm ID

107.67 x 1.78

1шт.

21

87042924

RING

Brake Seal

1шт.

Выбрано товаров: 27