Запчасти Case 465 (06-27) - MOTOR ASSY - TWO SPEED (06) - POWER TRAIN

Схема запчастей Case 465 - (06-27) - MOTOR ASSY - TWO SPEED (06) - POWER TRAIN
5
12
2
22
17
11
8
16
4
21
15
23
1
9
13
18
14
7
6
3
10
FIT
1:1
100%

Артикул

Название

Примечание

Количество

87349721

HYDRAULIC MOTOR,660CC

Motor; Two Speed; Incl. Figure 06-25 - 06-27

2шт.

87349721R

REMAN-HYD MOTOR

465 - SKID STEER BSN N7M452623, 2 Speed

2шт.

87349721C

CORE-MOTOR HYDRAULIC

Return Number

2шт.

87039367

KIT

Rotating; Incl. 1 - 5

1шт.

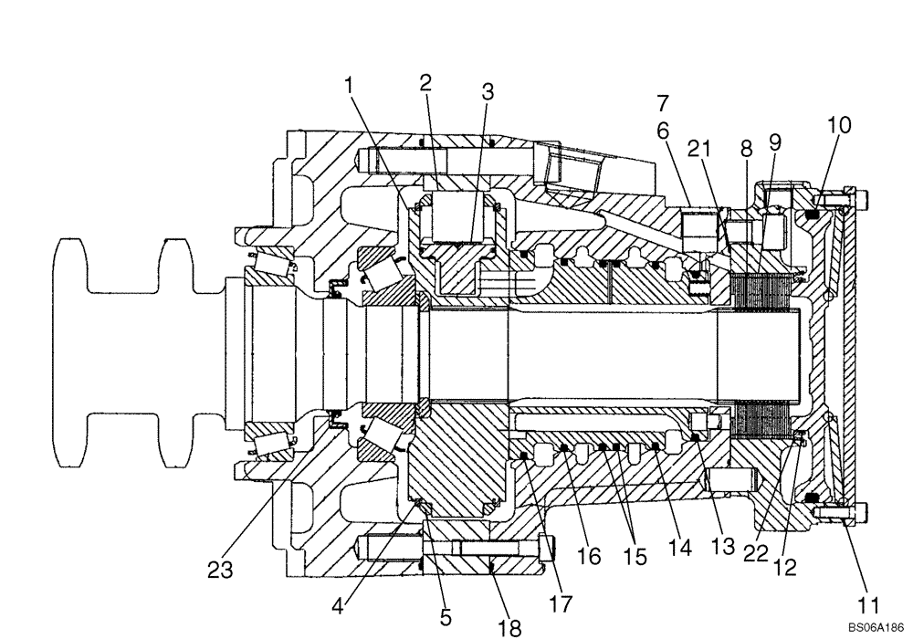
1

NSS

NOT SOLD SEPARAT

Cylinder Block

1шт.

2

NSS

NOT SOLD SEPARAT

Roll

8шт.

3

NSS

NOT SOLD SEPARAT

Piston S/A

8шт.

4

NSS

NOT SOLD SEPARAT

Circlip Ext 150 Dia

2шт.

5

NSS

NOT SOLD SEPARAT

MCR5 Retaining Ring

2шт.

87039372

KIT

Brake; Incl. 6 - 12

1шт.

6

NSS

NOT SOLD SEPARAT

Shim; 80 x 63 x 0.1

1шт.

7

NSS

NOT SOLD SEPARAT

Shim; 80 x 63 x 0.3

1шт.

8

NSS

NOT SOLD SEPARAT

Inner Plate

14шт.

9

NSS

NOT SOLD SEPARAT

Outer Plate

16шт.

10

NSS

NOT SOLD SEPARAT

Square Ring; 139.07 x 5.16

1шт.

11

NSS

NOT SOLD SEPARAT

Gasket; 0.5

1шт.

12

NSS

NOT SOLD SEPARAT

O-ring; 75.92 x 1.78

1шт.

87039371

SEAL KIT

Incl. 13 - 20, 23

1шт.

13

NSS

NOT SOLD SEPARAT

Piston Seal; 87.25

1шт.

14

NSS

NOT SOLD SEPARAT

Piston Seal; 96.725

1шт.

15

NSS

NOT SOLD SEPARAT

Piston Seal; 97.725

2шт.

16

NSS

NOT SOLD SEPARAT

Piston Seal; 98.725

1шт.

17

NSS

NOT SOLD SEPARAT

Piston Seal; 107.25

1шт.

18

NSS

NOT SOLD SEPARAT

Square Ring; 213 x 2.51

2шт.

19

NSS

NOT SOLD SEPARAT

O-Ring; 11.90 x 1.98; For Illustration, See Figure 06-26, Ref 1

1шт.

20

NSS

NOT SOLD SEPARAT

O-Ring; 8.92 x 1.83; For Illustration, See Figure 06-26, Ref 6

1шт.

21

87042919

O-RING,1.78mm Thk x 107.67mm ID

107.67 x 1.78

1шт.

22

87042924

RING

Brake Seal

1шт.

23

87042907

SEAL

57.15

1шт.

Выбрано товаров: 29