Запчасти Case 465 (08-17) - SECONDARY FRONT AUXILIARY (08) - HYDRAULICS

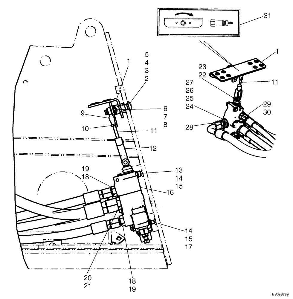
Схема запчастей Case 465 - (08-17) - SECONDARY FRONT AUXILIARY (08) - HYDRAULICS
2
18
1
22
21
14
3
11
19
16
9
29
26
7
15
1
25
10
17
8
13
11
31
20
27
15
28
18
6
5
4
24
23
12
30
14
19
FIT
1:1
100%

Артикул

Название

Примечание

Количество

1

87423833

PEDAL ASSY.

If Used

1шт.

1

87741562

PEDAL

1шт.

2

87033290

CARRIAGE BOLT,Sht Sq Nk, M12 x 55mm, Cl 8.8

1шт.

3

895-11012

WASHER,13.5mm ID x 24mm OD x 2.5mm Thk

If Used

2шт.

3

140018

WASHER,13.5mm ID x 24mm OD x 2.5mm Thk

1шт.

4

L14781

BUSHING,12.8mm ID x 15.94mm OD x 25.4mm L

1шт.

5

412672

NUT,Hex, M12 x 1.75, Cl 10

Replaces 832-41412

1шт.

6

86977786

BOLT,Hex, M6 x 1 x 25mm, Cl 8.8

Replaces 614-6025

1шт.

7

86588450

WASHER,6.6mm ID x 12mm OD x 1.6mm Thk

2шт.

8

86500688

NUT,Hex, M6 x 1.0, Cl 10.9

1шт.

87444161

LINKAGE

Incl 9-12

1шт.

9

L53928

BALL JOINT

1шт.

10

86976064

JAM NUT,Jam, 1/4"-28, G5

1шт.

11

87444164

ROD

1шт.

12

87444160

CLEVIS

1/4

1шт.

13

43130

BOLT,Hex, M8 x 1.25 x 50mm, Cl 8.8

1шт.

14

86625263

WASHER,9mm ID x 20mm OD x 1.6mm Thk

2-3шт.

15

229197A1

SQUARE NUT,M8 x 1.25, Cl 8

M8 x 1-1/4

2шт.

16

87017348

VALVE

Secondary Auxiliary; See Figure 08-18

1шт.

17

16044321

BOLT,M8 x 1.25 x 55mm, Cl 8.8

1шт.

18

128818

UNION,3/4" - 16 ORB x 3/4" - 16 JIC

Incl 19; If Used

2шт.

18

81827427

HYD CONNECTOR,3/4" - 16 JIC x 3/4" - 16 ORB

Incl 19

2шт.

19

128825

O-RING,0.087" Thk x 0.644" ID, -908, Cl 6, 90 Duro

1шт.

20

144124

HYD CONNECTOR,1-1/16" - 12 JIC x 7/8" - 14 ORB

Incl. 21

1шт.

21

167269

O-RING,0.097" Thk x 0.755" ID, -910, Cl 6, 90 Duro

1шт.

22

D131983

COTTER PIN,1.04mm OD x 21.4mm L, Ring

1шт.

23

H32961

CLEVIS COUPLING,7.94mm OD x 29.34mm L

Pin, Clevis

1шт.

24

129878A1

FITTING

Power Beyond; Incl. 25 - 27

1шт.

25

9991976

O-RING,0.07" Thk x 0.739" ID, -18, Cl 6, 90 Duro

1шт.

26

A52424

BACK-UP RING

1шт.

27

167266

O-RING,0.116" Thk x 0.924" ID, -912, Cl 6, 90 Duro

1шт.

28

218-1703

REDUCER,37 Degree, 7/8"-14, Fem x 1 1/16"-12 Male

If Used

1шт.

28

87303664

HYD CONNECTOR

Adapter Tube 37Fl .625 x .75

1шт.

29

218-5062

HYD CONNECTOR,7/8"-14, 37 Degree x 7/8"-14, O-Ring

Incl. 30

1шт.

29

325059

HYD CONNECTOR,7/8"-14, 37 Degree x 7/8"-14, O-Ring

Incl 30

1шт.

30

167269

O-RING,0.097" Thk x 0.755" ID, -910, Cl 6, 90 Duro

1шт.

31

139618A1

DECAL

Aux Hyd Control; See Fig 09-43

1шт.

Выбрано товаров: 37