Запчасти Case 465 (09-15) - DOOR, REAR (09) - CHASSIS

Схема запчастей Case 465 - (09-15) - DOOR, REAR (09) - CHASSIS
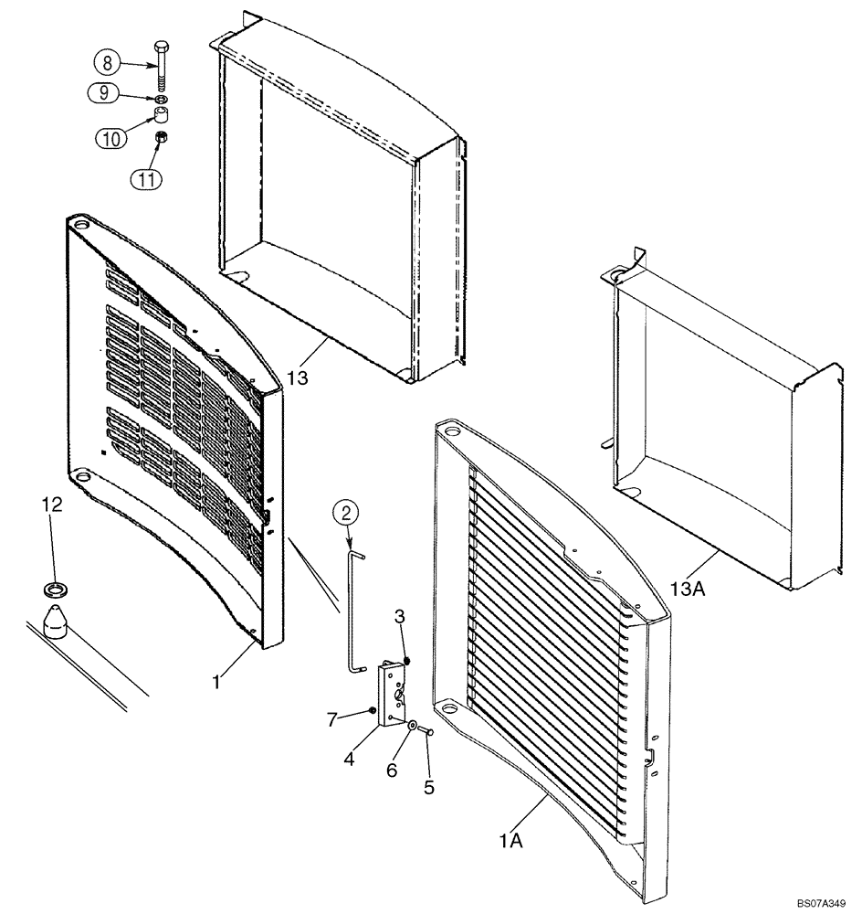
8
11
3
7
4
13
10
6
1
5
12
13a
9
2
1a
FIT
1:1
100%

Артикул

Название

Примечание

Количество

1

87457030

DOOR ASSY.

Rear

1шт.

1a

87457031

DOOR ASSY.

Rear; Heavy Duty

1шт.

2

87416236

ROD

Latch Pull

1шт.

3

380751A1

NUT

Push Cap

1шт.

4

87437076

LATCH

1шт.

5

86977789

BOLT,Hex, M6 x 1.0 x 35mm, Cl 8.8

2шт.

6

86624182

WASHER,6.6mm ID x 18mm OD x 1.6mm Thk

2шт.

7

87030561

NUT,M6 x 1, Cl 8

2шт.

8

9828248

BOLT,Hex, M16 x 2 x 60mm, Cl 10.9, Full Thd

1шт.

9

86625266

WASHER,17.5mm ID x 30mm OD x 4mm Thk

1шт.

10

248461A1

BUSHING,16.5mm ID x 24mm OD x 22mm L

1шт.

11

86512555

NUT,M16 x 2, Cl 10

1шт.

12

248461A1

BUSHING,16.5mm ID x 24mm OD x 22mm L

Sets On Bullet Nosed Pin Welded To Chassis

1шт.

13

87057393

FRAME ASSY

Door Enclosure; Replaces 87042878

1шт.

13a

87053676

ANGLE

Door Enclosure; Heavy Duty

1шт.

87016847

SEAL

Bulb

2шт.

Выбрано товаров: 16