Запчасти Case 465 (09-38A) - HEATER AND AIR CONDITIONING ASSY (09) - CHASSIS

Схема запчастей Case 465 - (09-38A) - HEATER AND AIR CONDITIONING ASSY (09) - CHASSIS
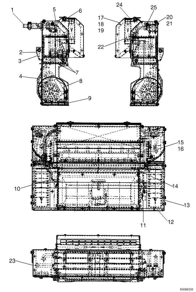
20
15
24
7
3
1
13
2
14
12
10
18
11
9
23
25
5
17
19
21
6
4
16
22
8
FIT
1:1
100%

Артикул

Название

Примечание

Количество

87383261

BLOWER

Heater A/C Assy; Incl. 1 - 23

1шт.

1

87035457

TUBE,0.625" DIA x 1.585" L

2шт.

2

87383265

FOAM

Drain Pan

1шт.

3

87383275

PAN

Drain Pan Assy

1шт.

4

87383274

BLOWER

Blower Cover Assy

1шт.

5

87383272

FILTER

Recirculating Filter

1шт.

6

290502

PIN

5/8 Heater Hose

2шт.

7

87383267

FILTER

Heater/Evap.

2шт.

8

87383273

BLOWER

Assy

1шт.

8

87383273R

REMAN-BLOWER

465 SKID STEER BSN N7M452623, Assy (1/05-12/07)

1шт.

8

87383273C

CORE-BLOWER

Return Number

1шт.

9

87029690

PANEL

Blower

1шт.

10

87035460

WIRE HARNESS

Heater, A/C

1шт.

11

86625480

THERMOSTATIC SWITCH

Cold Control

1шт.

12

87035459

VENT (AIR)

Louver #2451-A

2шт.

13

87029693

COVER

Channel

1шт.

14

87029694

CORE

Heater

1шт.

15

87029711

EVAPORATOR

Incl. 16

1шт.

16

87035782

VALVE

Expansion

1шт.

17

87033934

AIR DUCT

Incl. 18, 19; If Used; Used With Cover Assy Filter Ref 24, Part Number 87536709

1шт.

17

87591145

COVER ASSY

If Used; Used With Air Filter Assy Ref 24, 87591144

1шт.

17a

87591153

NUT

Incl.17A

1шт.

18

87033905

COVER

1шт.

19

87033906

GRILLE

Blower

1шт.

20

87029709

BRACKET

Expansion Valve

1шт.

21

87029708

GASKET

Expansion Valve

1шт.

22

87029691

ELEMENT

Paper Filter

1шт.

22

87681240

CAB FILTER,367mm L x 108mm W x 24mm Thk, Charcoal

Charcoal Filter

1шт.

23

87383269

CASE

1шт.

24

87536709

COVER ASSY

Cover Assy Filter

1шт.

24

87591144

COVER ASSY

If Used; Used With Ref 17, Cover Assy 87591145; Component Parts Not Serviced Separately

1шт.

25

87536711

RETAINER

Push On Retainer

2шт.

Выбрано товаров: 32