Качественные детали и логистика
Оригинальные и аналоговые запчасти с доставкой по России, Казахстану и Беларуси
©2022 PartSell ООО "Система" ИНН 2463123282 ОГРН 1212400004838
Центральный офис: г. Красноярск, Академика Киренского, д.87, пом.4
Телефон: 8 (800) 777-65-74 Email: zakaz@partsell.ru
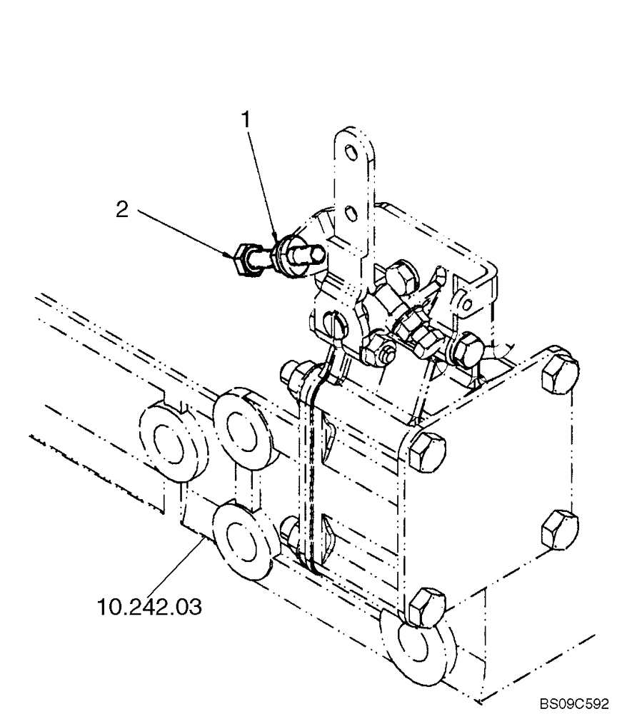
(10.114.10) - HIGH IDLE ADJUSTMENT
№
Артикул
Название
Примечание
Количество
1
86511444
FLANGE NUT,Hex, M6 x 1
1шт.
2
15212521
BOLT,Hex, M6 x 35mm, Cl 8.8, Full Thd
Injection Pump; See Figure 10.242.03
Выбрано товаров: 0