Запчасти Case SR150 (10.220.02[02]) - FOOT THROTTLE KIT (10) - ENGINE

Схема запчастей Case SR150 - (10.220.02[02]) - FOOT THROTTLE KIT (10) - ENGINE
5
6
2
17
2
3
4
23
10
8
4
22
5
8
16
21
7
7
18
4
6
10
11
4
15
12
9
7
6
5
20
14
19
20
12
6
5
13
21
11
FIT
1:1
100%

Артикул

Название

Примечание

Количество

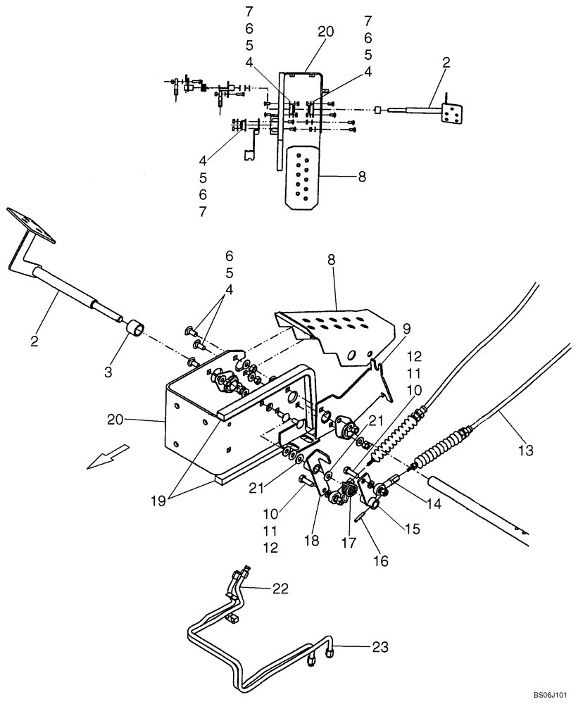
1

87576179

DIA KIT, ADD PROD

Foot Throttle Kit; Incl. 2 - 23 and Instructions

1шт.

2

87535988

PEDAL

Foot Throttle; Replaces 87397667

1шт.

3

87578956

TUBE SPACER,19.9mm ID x 25.4mm OD x 20.6mm L

1шт.

4

9635082

NUT,5/16" - 18, Gr 5

8шт.

5

322358

BELLEVILLE WASHER,M8 Bolt Size x 18mm OD x 1.4mm Thk

8шт.

6

280327

CARRIAGE BOLT,Sq Nk, 5/16" - 18 x 3/4", Gr 5, Full Thd

8шт.

7

86567251

FLANGED BEARING,19mm ID

Side

3шт.

8

87550553

PEDAL

1шт.

9

87584298

BRACKET

Cable Mount; Replaces 87550552

1шт.

10

80681

LOCK WASHER,5/16"

2шт.

11

87343998

LOCK NUT

Nut

2шт.

12

9635884

BOLT,Hex, 5/16" - 18 1", Full Thd, Gr 5

2шт.

13

87548418

CABLE,1778mm L

Foot Throttle

1шт.

14

86603720

BALL JOINT HEAD,#10 - 32

2шт.

15

87548416

PEDAL

Linkage, Foot Throttle

1шт.

16

38-11216

LOCK PIN,3/16" x 1", Slotted

Pin

1шт.

17

87550545

SPRING

Foot Throttle

1шт.

18

87550544

PEDAL

Link, Foot Throttle

1шт.

19

291308

SEALING STRIP,0.75" W x 0.5" Thick

12 in. Required

1шт.

20

87557968

BRACKET

RH

1шт.

21

86625263

WASHER,9mm ID x 20mm OD x 1.6mm Thk

4шт.

22

87550550

TUBE,12.6 mm ID x 15.9 mm OD x 402.4, 253.9 mm L

Tube, Bucket; Replaces 87050213 On Fig. 35.204.04, Ref. 20

1шт.

23

87550551

TUBE,12.6 mm ID x 15.9 mm OD x 498.2, 413.8 mm L

Tube, Bucket; Replaces 87050214 On Fig. 35.204.04, Ref. 18

1шт.

Выбрано товаров: 0