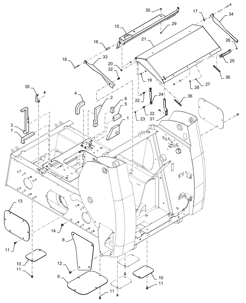
Запчасти Case SR150 (90.100.BJ) - REAR HOOD AND CHASSIS ACCESS COVER 23-JUN-2017 AND NEWER (90) - PLATFORM, CAB, BODYWORK AND DECALS

Схема запчастей Case SR150 - (90.100.BJ) - REAR HOOD AND CHASSIS ACCESS COVER 23-JUN-2017 AND NEWER (90) - PLATFORM, CAB, BODYWORK AND DECALS
22
35
8
33
2
10
23
17
31
13
20
15
18
7
36
11
28
26
5
4
10
3
11
30
19
12
29
36
32
11
9
24
6
1
21
34
22
11
14
25
27
16
FIT
1:1
100%

Артикул

Название

Примечание

Количество

1

84323503

FOAM

RH Filler

1шт.

2

84372931

FOAM

RH Heel Plate

1шт.

3

48013158

FOAM INSULATION

LH Heel Plate

1шт.

4

47874957

FOAM INSULATION,177.8mm L x 38.1mm W x 25.4mm Thk

Chassis Filler

1шт.

5

47875087

FOAM INSULATION

RH Upper Chassis Filler

1шт.

6

84372933

FOAM

Chassis Filler

1шт.

7

47827322

FOAM

Bulkhead Seal, LH

1шт.

8

84306104

COVER

Battery

1шт.

9

47717914

PLATE,431.6mm L x 303.6mm W x 6.35mm Thk

1шт.

10

47717905

PLATE,225mm L x 150mm W x 6.35mm Thk

4шт.

11

87030529

SELF-TAP SCREW,HWH, 3/8" - 16 x 7/8"

24шт.

12

86050286

FLANGE BOLT,M10 x 20mm, Cl 8.8

4шт.

13

84295151

COVER PLATE,400mm L x 280mm W x 4.75mm Thk

2шт.

14

647429

DRAIN PLUG,Sq Soc HD, 1/2" - 14, NPTF

4шт.

15

47518029

HOOD

Rear Fixed, Gray

1шт.

16

87302564

SPACER,9.2mm ID x 13.7mm OD x 50.8mm L

2шт.

17

87429698

SPACER

Hood

2шт.

18

300660

CARRIAGE BOLT,M8 x 1.25 x 70mm, Cl 8.8

2шт.

19

86625263

WASHER,9mm ID x 20mm OD x 1.6mm Thk

3шт.

20

86629542

NUT,M8 x 1.25, Cl 8.8

3шт.

21

47844688

HOOD

Tilt AC, Gray

1шт.

22

189609A1

BALL STUD,M8 x 1.25

1шт.

22

47974869

BALL STUD,M8 x 1.25 x 32.2mm L, 10mm Ball OD

, Start Year: 14-OCT-16

2шт.

23

229197A1

SQUARE NUT,M8 x 1.25, Cl 8

1шт.

24

400473A1

CYLINDER ASSY.,186.84mm L, Extended, 148.74mm L, Compressed

Spring Hood Assist

1шт.

25

406256A1

HANDLE

Rear Hood

1шт.

26

86511827

SCREW,Phillips Drive, Pan HD, M5 x 20mm, Cl 4.8

2шт.

27

86625264

LOCK WASHER,Ext Tooth, M5

2шт.

28

86639241

NUT,Prev Torque, M5 x 0.8, Cl 8

2шт.

29

86511444

FLANGE NUT,Hex, M6 x 1

2шт.

30

87682398

SCREW,Torx, Round HD, M6 x 16mm, Cl 10.9

2шт.

31

47492070

ANGLE

Hood Lock Tab, Gray

1шт.

32

84285339

SELF-TAP SCREW,Hex, M8 x 1.25 x 15mm

6шт.

33

47499445

ANGLE

Hood Stop, LH Gray

1шт.

34

47499447

ANGLE

Hood Stop, RH Gray

1шт.

35

47842392

BRACKET

Fuse Cover, Gray

1шт.

36

87702286

TRIM,Bulk, 1/8" x 30480mm L

Cut To Length, 220mm L

1шт.

Выбрано товаров: 37