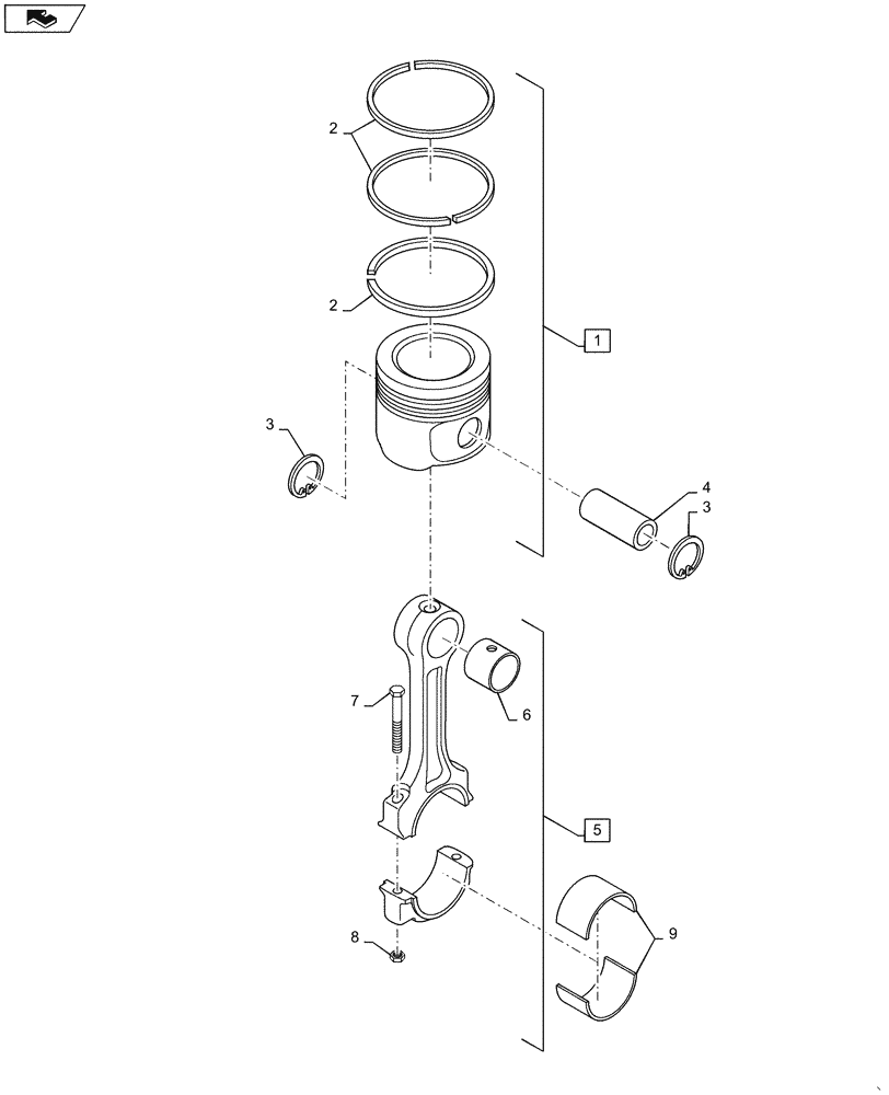
Запчасти Case SR150 (10.405.AG) - PISTON AND CONNECTING ROD (17-JUN-2013 AND AFTER ) (10) - ENGINE

Схема запчастей Case SR150 - (10.405.AG) - PISTON AND CONNECTING ROD (17-JUN-2013 AND AFTER ) (10) - ENGINE
6
9
4
3
2
5
3
1
7
home
2
8
FIT
1:1
100%

Артикул

Название

Примечание

Количество

1

SBA115017800

PISTON & RINGS KIT

Piston Kit, Incl 2

4шт.

2

SBA115104130

PISTON RINGS KIT

Ring Kit

4шт.

3

SBA036500028

SNAP RING

Piston Pin

8шт.

4

SBA115326220

PISTON PIN,33mm OD

4шт.

5

SBA115026330

CONNECTING ROD

Incl 6 - 8

4шт.

5

SBA115026330R

REMAN-CONNECTING ROD

4шт.

5

SBA115026330C

CORE-ROD CONNECTING

Return Number

4шт.

6

SBA198517260

BUSHING

Connecting Rod

4шт.

7

SBA115176140

BOLT

8шт.

8

SBA020109120

NUT

8шт.

9

SBA198517252

BEARING LINER,Std.

8шт.

Выбрано товаров: 11