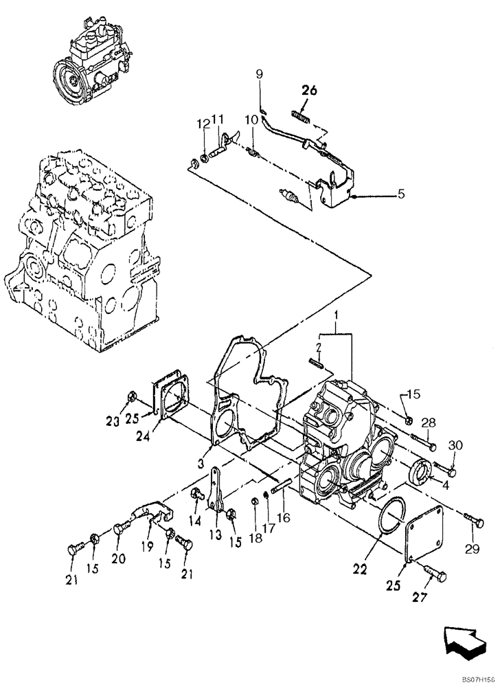
Запчасти Case SR175 (10.106.03) - TIMING GEAR CASE, GOVERNOR (10) - ENGINE

Схема запчастей Case SR175 - (10.106.03) - TIMING GEAR CASE, GOVERNOR (10) - ENGINE
11
29
27
25
19
17
10
9
25
30
3
12
2
13
15
24
22
1
26
15
18
28
16
5
14
15
21
15
4
20
21
23
FIT
1:1
100%

Артикул

Название

Примечание

Количество

1

SBA165106840

GEAR

Case; Timing Gear, Incl. Ref 2

1шт.

2

SBA030300414

PIN

Spring

1шт.

3

SBA165996550

GASKET

1шт.

4

SBA198636160

SEAL,M35 x 55 x 11

Oil

1шт.

5

SBA125046510

LEVER

Governor; If Used, BSN Engine SN 133723

1шт.

5

SBA125046880

LEVER

Governor; If Used, ASN Engine SN 133723

1шт.

9

SBA031100004

SPRING

Snap

1шт.

10

SBA198217380

SPRING

Main

1шт.

11

SBA125156170

ARM

Snap

1шт.

12

SBA052109110

O-RING

1шт.

13

SBA125416300

LEVER

1шт.

14

43117

SCREW,Hex, M6 x 1.0 x 30mm, Cl 8.8

Cap, HH, CL8.8, M6 x 1 x 30

1шт.

15

9804276

FLANGE NUT,Hex, M6 x 1, Cl 8

M6 x 1

4шт.

16

SBA125116141

ROD

1шт.

17

SBA052109108

O-RING

1шт.

18

SBA036800005

SNAP RING

1шт.

19

SBA125976120

BRACKET

1шт.

20

SBA011310614

BOLT

CL 8.8, M6 x 1 x 14

2шт.

21

SBA010109264

BOLT

2шт.

22

SBA052300600

O-RING,G60

1шт.

23

9804277

FLANGE NUT,Hex, M8 x 1.25, Cl 8

4шт.

24

SBA165996610

GASKET

Gasket

1шт.

25

SBA165206010

COVER

2шт.

26

SBA198217560

SPRING

1шт.

27

SBA011510865

BOLT

4шт.

28

SBA011310680

BOLT

2шт.

29

SBA011310645

CAPTIVE WASHER SCREW,Hex, M6 x 45, Cl 8.8

7шт.

30

SBA011310660

BOLT

3шт.

Выбрано товаров: 28