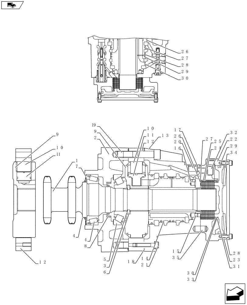
Запчасти Case SR200 (29.353.AD[06]) - MOTOR, REXROTH DRIVE MOTOR 2SPD (SR200-SV300) (29) - HYDROSTATIC DRIVE

Схема запчастей Case SR200 - (29.353.AD[06]) - MOTOR, REXROTH DRIVE MOTOR 2SPD (SR200-SV300) (29) - HYDROSTATIC DRIVE
21
4
32
20
3
17
1
10
1
27
30
35
11
22
6
29
1
23
33
5
28
9
26
8
1
12
34
30
7
10
home
9
2
26
15
18
12
24
4
27
14
28
31
13
25
29
9
16
FIT
1:1
100%

Артикул

Название

Примечание

Количество

84256617

HYDRAULIC MOTOR

Rexroth 2 Speed Drive Motor, Includes Ref. 1-35

1шт.

84565752R

REMAN-HYD MOTOR,Drive, 470 CC

SR200, SR220, SR250, SV250, SV300 all (4/11-), Reman For New P/N 84256617

1шт.

84565752C

CORE-MOTOR HYDRAULIC

Return Number

1шт.

1

84293371

DRIVE SHAFT

MCR5 2 Speed ASM

1шт.

2

84293380

MOTOR HOUSING

ASM MCR5 Front W Seal

1шт.

3

87042903

KIT

Abutment Washer

1шт.

4

87042904

BALL BEARING,70 mm ID x 110 mm OD x 25 mm

1шт.

5

87042905

BALL BEARING,50mm ID x 110mm OD x 29.25mm W

1шт.

6

87042906

RING

MCR5 Split Ring

1шт.

7

NSS

NOT SOLD SEPARAT

Face Seal 78 X 110 X 12.2 NBR80, Incl in 36

1шт.

8

87042907

SEAL

57.15 X 76.2 X 9.53 VITON

1шт.

9

NSS

NOT SOLD SEPARAT

Cylinder Block 2 W, Incl in 36

1шт.

10

NSS

NOT SOLD SEPARAT

Roll LD, Incl in 36

8шт.

11

NSS

NOT SOLD SEPARAT

Piston S/A, Incl in 36

8шт.

12

87042908

CAM

MCR5 Cam 680/470 W 2S

1шт.

13

87042909

CASE

MCR5 R/Case D/2W/S0465

1шт.

14

87042910

DISTRIBUTOR

MCR5 Distributor 2WL

1шт.

15

87042911

PIN

MCR5 Stop Pin S0471

1шт.

16

87042912

SPRING

MCR3 Spring

16шт.

17

87042919

O-RING,1.78mm Thk x 107.67mm ID

Sq. Ring 107.67 X 1.68 VITON FMK 70/80

1шт.

18

NSS

NOT SOLD SEPARAT

Sq. Ring 213 X 2.51 VITON FMK90, Incl in 36

2шт.

19

87605313

HEX SOC SCREW,M14 x 80mm, Cl 12.9

Screw SH Cap M14 X 80 12.9

10шт.

20

NSS

NOT SOLD SEPARAT

Shipping Plug 3/4 - 16 UNF

1шт.

21

87602944

SCREW,M8 x 40mm, Cl 12.9

Screw SH Cap

2шт.

22

87042921

HOUSING

MCR5 Brake Housing B2/2W/12

1шт.

23

87042922

PISTON

MCR3/5 Brake Piston

1шт.

24

NSS

NOT SOLD SEPARAT

MCR3 Outer Plate, Incl in 38

16шт.

25

NSS

NOT SOLD SEPARAT

MCR5 Inner Plate, Incl in 38

14шт.

26

NSS

NOT SOLD SEPARAT

Shim 80 X 63 X 0.1, Incl in 38

1шт.

27

NSS

NOT SOLD SEPARAT

Shim 80 X 63 X 0.3, Incl in 38

1шт.

28

NSS

NOT SOLD SEPARAT

MCR3 Gasket B2M 0.5, Incl in 38, 39

1шт.

29

NSS

NOT SOLD SEPARAT

Sq. Ring 139.07 X 5.16 VITON FMK70, Incl in 38 - 39

1шт.

30

87042924

RING

MCR3 Brake Seal Ring B2M

1шт.

31

87042925

CLIP

MCR3 Circlip Int DIA 87

1шт.

32

86512142

HEX SOC SCREW,M12 x 30mm, Cl 12.9, Full Thd

5шт.

33

NSS

NOT SOLD SEPARAT

O-Ring 75.92 X 1.78 VITON FMK 70/80, Incl in 38 - 39

1шт.

34

87042926

SPRING

Disc Spring

1шт.

35

87042927

PIN

Dowel

3шт.

36

87039369

KIT

Rotating MCR5, 2 Speed

1шт.

Incl 7, 9 - 11, 18

1шт.

37

84293532

SEAL KIT

MCR5 2SPD

1шт.

38

87039372

KIT

Brake MCR5

1шт.

Incl 24 - 27

1шт.

39

84281323

SERVICE KIT

2SPD Spool 12 BAR MCR5

1шт.

Incl 29 - 30

1шт.

Выбрано товаров: 45