Запчасти Case SR200 (35.734.AH[02]) - AUX HYD, STD, ARM PLUMBING (SR175)(SR200)(SR220,SR250,TR320) (35) - HYDRAULIC SYSTEMS

Схема запчастей Case SR200 - (35.734.AH[02]) - AUX HYD, STD, ARM PLUMBING (SR175)(SR200)(SR220,SR250,TR320) (35) - HYDRAULIC SYSTEMS
8
3
6
2
1
13
4
12
5
9
11
6
home
11
10
11
7
6
FIT
1:1
100%

Артикул

Название

Примечание

Количество

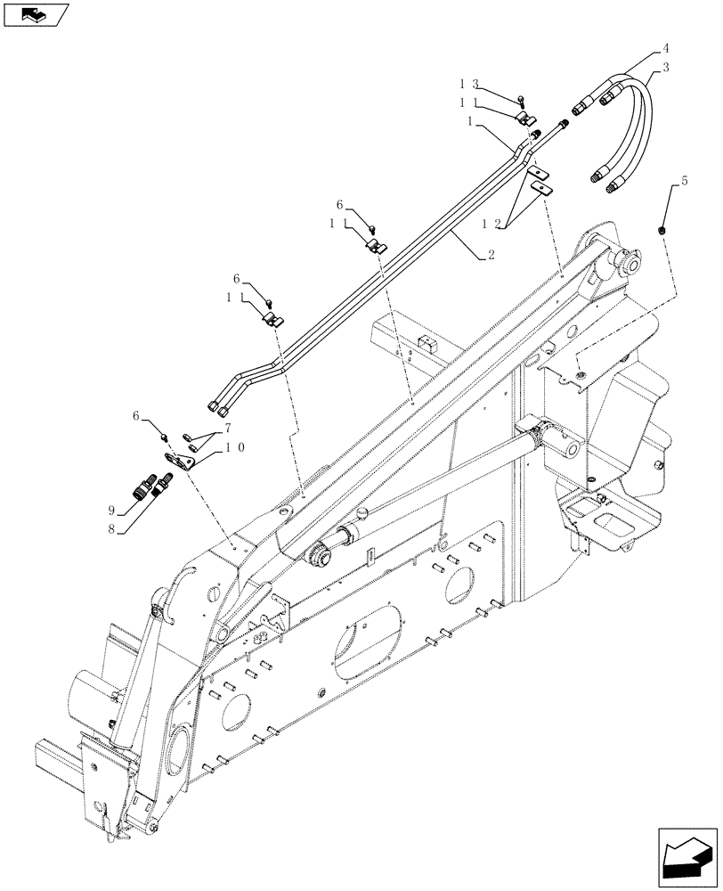
1

84322559

HYD TUBE

Assembly, Aux, Std Female

1шт.

2

84322556

HYD TUBE

Assembly, Aux, Std Male

1шт.

3

84322558

FLEXIBLE HOSE,15.88mm ID x 698mm L, SAE 100R17

Assembly, Std Aux, Male

1шт.

4

84322561

FLEXIBLE HOSE,15.88mm ID x 773mm L, SAE 100R17

Assembly, Std Aux, Female

1шт.

5

647429

DRAIN PLUG,Sq Soc HD, 1/2" - 14, NPTF

Pipe

1шт.

6

280476

SELF-TAP SCREW,HWH, 3/8"-16 x 1"

4шт.

7

595460

BHD LOCK NUT,7/8" - 14

2шт.

8

87741500

QUICK MALE COUPLING,7/8" - 14, 37 Degree x ISO 12.5mm

1шт.

9

87741499

COUPLING, QUICK, FEM,7/8" - 14, 37 Degree x ISO 12.5mm

1шт.

10

84252821

BRACKET

Aux Coupler

1шт.

11

84252828

CLAMP,65.2mm L

Butterfly Tube

3шт.

12

87023483

PLATE,82mm L x 31.8mm W x 7.37mm Thk

2шт.

13

87030530

SELF-TAP SCREW,HWH, 3/8" - 16 x 1-3/4"

3/8 X 1.75 TT HW ZND

1шт.

Выбрано товаров: 13