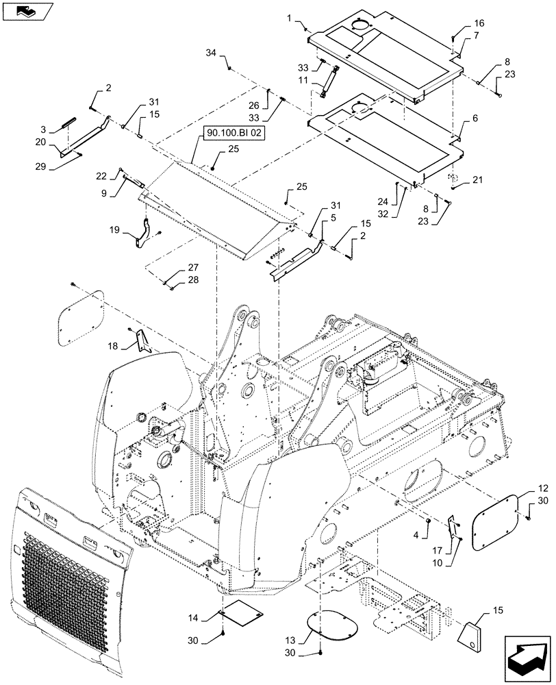
Запчасти Case SR220 (90.100.BI[01]) - REAR HOOD AND CHASSIS ACCESS COVERS (90) - PLATFORM, CAB, BODYWORK AND DECALS

Схема запчастей Case SR220 - (90.100.BI[01]) - REAR HOOD AND CHASSIS ACCESS COVERS (90) - PLATFORM, CAB, BODYWORK AND DECALS
25
30
13
8
26
25
19
90.100.bi 02
30
29
1
6
34
30
27
16
7
17
24
11
31
22
14
33
18
10
28
2
12
31
8
23
15
5
2
9
21
15
15
23
20
32
home
33
3
4
FIT
1:1
100%

Артикул

Название

Примечание

Количество

1

43362

NUT,M8 x 1.25, Cl 10

1шт.

2

120039

CARRIAGE BOLT,M8 x 1.25 x 54.8mm, Cl 8.8

2шт.

3

291186

PROTECTION STRIP,9.9mm W

1шт.

4

647429

DRAIN PLUG,Sq Soc HD, 1/2" - 14, NPTF

4шт.

5

47388901

ANGLE

Hood Stop

1шт.

6

47434981

PANEL

Rear Deck

1шт.

7

47435698

PLATE

Exhaust Stack Stiffener

1шт.

8

47435764

SPACER,6.3mm ID x 9.5mm OD x 13mm L

6.3mm x 9.5mm x 13mm

4шт.

9

406256A1

HANDLE

Rear Hood

1шт.

10

84285339

SELF-TAP SCREW,Hex, M8 x 1.25 x 15mm

6шт.

11

400472A1

SPRING,10mm Rod, 38.1mm Stroke

Hood Tilt Assist

1шт.

12

84295151

COVER PLATE,400mm L x 280mm W x 4.75mm Thk

Chain Tank Access

2шт.

13

84299800

COVER PLATE

Lower Chassis Access

1шт.

14

84299809

COVER PLATE

Plumbing Access

1шт.

15

259905A1

SPACER

31-1/4" Long

2шт.

16

84305556

SCREW,Round HD, M6 x 1 x 25mm, Cl 10.9

2шт.

17

84354589

COVER PLATE

Chassis, LH, Gray

1шт.

18

84354590

COVER PLATE

Chassis, RH, Gray

1шт.

19

84405254

LOCKING TAB

Hood Lock Tab

1шт.

20

84601872

ANGLE

Stop

1шт.

21

86511444

FLANGE NUT,Hex, M6 x 1

2шт.

22

86511827

SCREW,Phillips Drive, Pan HD, M5 x 20mm, Cl 4.8

2шт.

23

86512441

CARRIAGE BOLT,Rnd Head, M6 x 1 x 36.6mm, Cl 8.8

4шт.

24

86619800

FLANGE NUT,M6 x 1, Cl 8

4шт.

25

86619801

FLANGE NUT,M8 x 1.25, Cl 8

2шт.

26

86625263

WASHER,9mm ID x 20mm OD x 1.6mm Thk

1шт.

27

86625264

LOCK WASHER,Ext Tooth, M5

2шт.

28

86639241

NUT,Prev Torque, M5 x 0.8, Cl 8

2шт.

29

87016557

SELF-TAP SCREW,Hex, M8 x 1.25 x 25mm

2шт.

30

87030529

SELF-TAP SCREW,HWH, 3/8" - 16 x 7/8"

18шт.

31

87429698

SPACER

Hood

2шт.

32

87655041

SPECIAL WASHER,6.85mm ID x 13.5mm OD x 2mm Thk

4шт.

33

189609A1

BALL STUD,M8 x 1.25

M8 - 1.25, 10mm Ball

2шт.

34

229197A1

SQUARE NUT,M8 x 1.25, Cl 8

1шт.

Выбрано товаров: 0