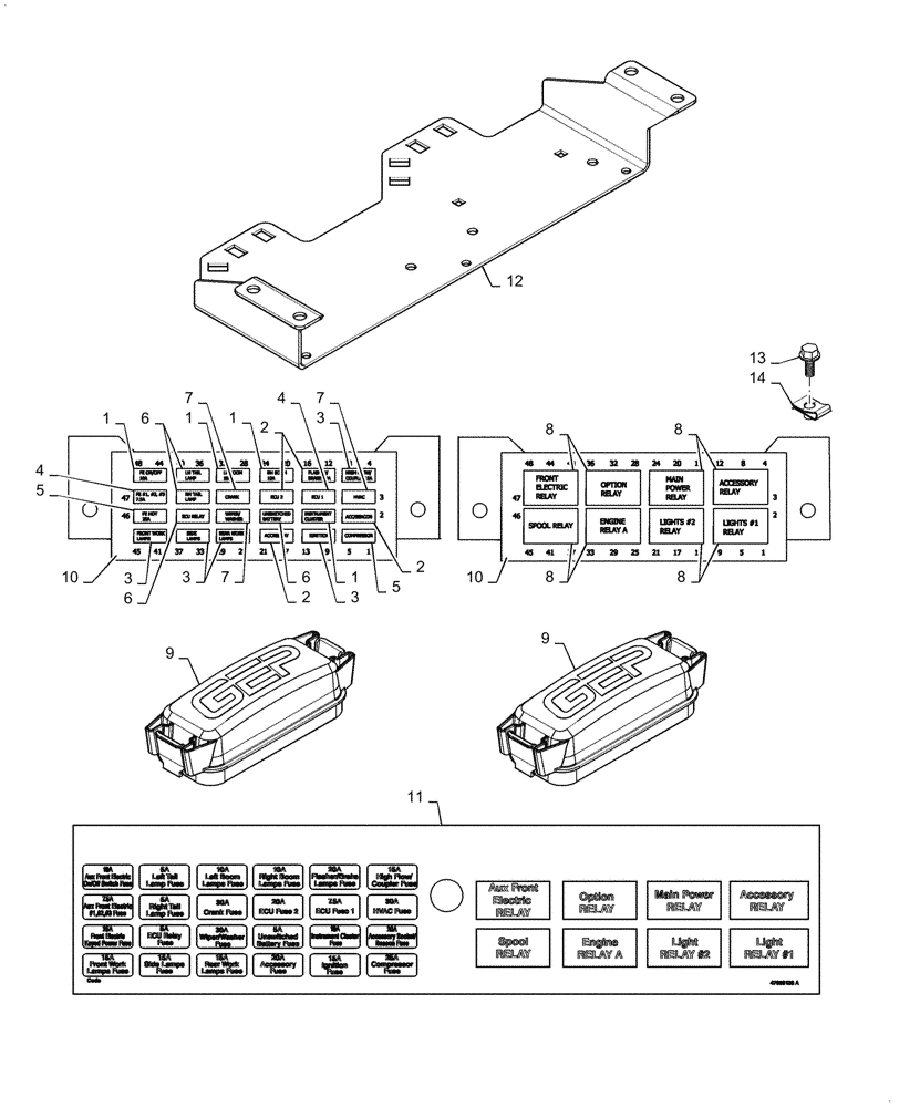
Запчасти Case SV185 (55.100.DO[01]) - FUSE BOX, MECHANICAL CONTROLS (55) - ELECTRICAL SYSTEMS

Схема запчастей Case SV185 - (55.100.DO[01]) - FUSE BOX, MECHANICAL CONTROLS (55) - ELECTRICAL SYSTEMS
11
1
10
3
8
1
13
6
14
7
9
3
6
9
2
4
2
8
1
6
5
2
8
8
7
12
10
3
3
1
4
5
7
FIT
1:1
100%

Артикул

Название

Примечание

Количество

1

84127702

FUSE,10A, Mini, Red

4шт.

2

84127704

FUSE,20A, Mini, Yellow

4шт.

3

84127703

FUSE,15A, Mini, Blue

5шт.

4

84152583

FUSE,7.5A, Mini, Brown

2шт.

5

84127705

FUSE,25A, Mini, White

2шт.

6

84153830

FUSE,5A, Mini, Beige

4шт.

7

84127708

FUSE,30A, Mini, Green

3шт.

8

87655334

RELAY,12V, 35A, Micro

8шт.

9

84404932

COVER

Cover

2шт.

10

84380518

FUSE BOX

2шт.

11

47859138

DECAL

Fuse Box Layout

1шт.

12

47840305

BRACKET

Fuse Panel Mounting Bracket

1шт.

13

9804255

BOLT,Hex, M6 x 1 x 16mm, Full Thd, Cl 8.8

4шт.

14

87016585

NUT,Spring, M6 x 1

4шт.

Выбрано товаров: 14