Запчасти Case SV340 (39.100.010) - FRAME & COMPONENTS (39) - FRAMES AND BALLASTING

Схема запчастей Case SV340 - (39.100.010) - FRAME & COMPONENTS (39) - FRAMES AND BALLASTING
3
8
13
18
10
11
17
5
8
15
16
2
9
1
6
12
14
8
4
12
17
7
19
FIT
1:1
100%

Артикул

Название

Примечание

Количество

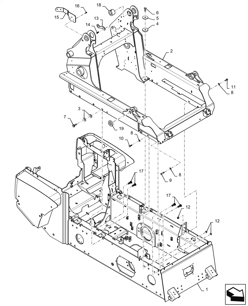
1

NS

NOT SERVICED

Chassis, Tan

1шт.

2

47912526

FRAME

Upper, Gray

1шт.

3

86592702

WASHER,17mm ID x 45mm OD x 6mm Thk

16шт.

4

84298254

PLATE

Rear Mount, Gray

4шт.

5

87687021

WASHER,17.3mm ID x 70mm OD x 4.5mm Thk

4шт.

6

374835

BOLT,Hex, M16 x 2 x 40mm, Cl 10.9, Full Thd

4шт.

7

87698849

BOLT,M16 x 50mm, Cl 10.9

8шт.

8

86625256

WASHER,13.3mm ID x 28.5mm OD x 4mm Thk

10шт.

9

337476

BOLT,Hex, M12 x 1.75 x 50mm, Cl 10.9

1шт.

10

9824642

BOLT,M12 x 1.75 x 42.68mm, Cl 10.9

8шт.

11

87035385

CARRIAGE BOLT,Sht Sq Nk, M12 x 35mm, Cl 8.8, Full Thd

1шт.

12

86512497

FLANGE NUT,M12 x 1.75, Cl 10

10шт.

13

47593313

SUPPORT

LH, SCR, Gray

1шт.

14

87550233

SELF-TAP SCREW,Hex Flg, M10 x 1.5 x 25mm

1шт.

15

47640716

BRACKET

Fuel Filter

1шт.

16

87016557

SELF-TAP SCREW,Hex, M8 x 1.25 x 25mm

3шт.

17

84162937

STUD,M16 x 50mm, Cl 9.8

Axle Mounting

32шт.

18

84201518

HUB,38.5mm ID x 69.85mm OD x 48.5mm L

Upper Frame to H-Link

2шт.

19

86521978

HUB,38.23mm ID x 69.85mm OD x 12.7mm L

Upper Frame to Boom Lift Cylinder

2шт.

Выбрано товаров: 19