Запчасти Case 1500-SERIES (118) - 30 INCH TREE DIGGER (89) - TOOLS

Схема запчастей Case 1500-SERIES - (118) - 30 INCH TREE DIGGER (89) - TOOLS
FIT
1:1
100%

Артикул

Название

Примечание

Количество

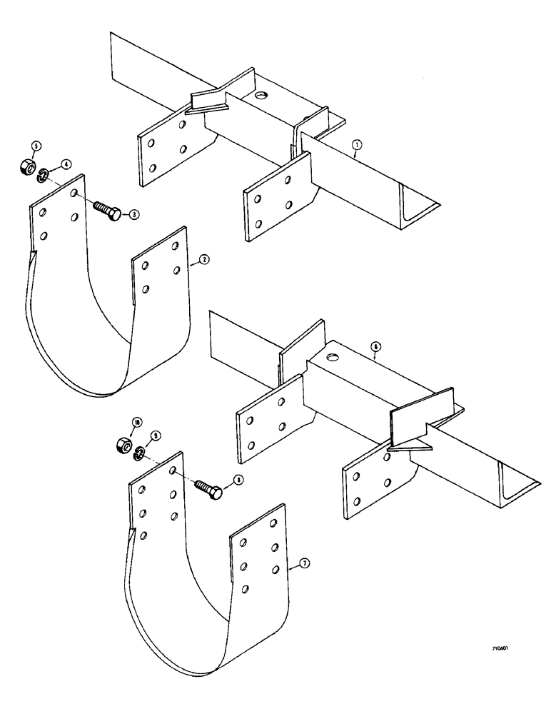
1

D54965

MOUNT - 30" tree digger

1шт.

2

T40843

SPARE PART 30"

1шт.

3

113-708

BOLT,Hex, 3/4" - 10 x 2", Gr 5

8шт.

4

192-67

WASHER,3/4"

8шт.

5

129-108

NUT,3/4"-10, G5

8шт.

6

D54964

MOUNT - 18" tree digger

1шт.

7

T40832

BLADE - 18", tree digger

1шт.

8

113-708

BOLT,Hex, 3/4" - 10 x 2", Gr 5

18 inch tree digger

8шт.

9

192-67

WASHER,3/4"

18 inch tree digger

8шт.

10

129-108

NUT,3/4"-10, G5

18 inch tree digger

8шт.

Выбрано товаров: 10