Запчасти Case 1529 (156) - SEAT (90) - PLATFORM, CAB, BODYWORK AND DECALS

Схема запчастей Case 1529 - (156) - SEAT (90) - PLATFORM, CAB, BODYWORK AND DECALS
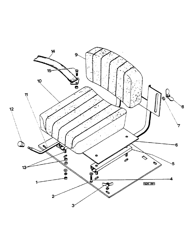
8
1
9
15
5
11
6
13
3
7
2
10
4
14
12
FIT
1:1
100%

Артикул

Название

Примечание

Количество

1

E16678

NUT

SPARE PART hex 8 (1.25)

4шт.

195-2020

WASHER,.344" x 1" x .065"

plain 11/32"

8шт.

E16677

WASHER

lock 8

4шт.

2

E19582

SPARE PART

PLATFORM seat, Serial Range: -3756358

1шт.

E32932

PLATFORM seat, Start Serial: 3756359

1шт.

E33940

PLATFORM seat, for Germany

1шт.

3

E30004

NUT

2шт.

E16677

WASHER

lock

2шт.

E33609

SEAT ASSY., for Germany, see Figure 159A

1шт.

E16416

SEAT

ASSY.

1шт.

4

E16370

BOLT

hex 8 (1.25) x 20

4шт.

E16739

WASHER

plain 8

8шт.

5

E17120

SLIDE VALVE

plain

1шт.

6

E17121

SUPPORT

cushion

1шт.

7

E16739

WASHER

plain 8

2шт.

8

E17122

NUT

wing 8 (1.25)

2шт.

9

E17123

CUSHION

BACK

1шт.

10

E17117

CUSHION, SEAT

1шт.

11

E17

NUT

SLIDE ASSY., adjustable, .118

1шт.

12

E17128

KNOB

1шт.

13

E17119

SCREW

BOLT F/90 - 8 (1.25) x 25

4шт.

E16678

NUT

SPARE PART hex 8 ( 1.25)

4шт.

14

E19207

SAFETY BELT

SEAT

1шт.

15

13-716

BOLT,Hex, 7/16" - 14 x 1", Gr 5

2шт.

131-8

LOCK NUT,7/16"-14, GB

2шт.

Выбрано товаров: 25