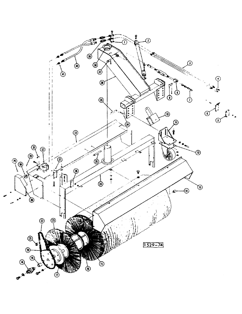
Запчасти Case 1529 (192) - KEYSTAND CORE ANGLE BROOM

Схема запчастей Case 1529 - (192) - KEYSTAND CORE ANGLE BROOM
19
36
14
8
37
23
30
7
34
13
40
11
22
4
15
6
41
24
2
25
26
21
27
39
17
1
33
32
18
20
3
29
12
5
29
38
35
10
28
31
9
16
FIT
1:1
100%

Артикул

Название

Примечание

Количество

1

T42290

SPARE PART BLOCK

1шт.

13-512

BOLT,Hex, 5/16" - 18 x 3/4", Gr 5

2шт.

92-5

LOCK WASHER,5/16"

2шт.

2

T41973

SPARE PART angle

1шт.

13-1024

BOLT,Hex, 5/8" - 11 x 1-1/2", Gr 5, Full Thd

1шт.

13-1036

BOLT,Hex, 5/8" - 11 x 2-1/4", Gr 5

1шт.

25-1010

NUT,5/8"-11, G5

1шт.

3

T42287

HOSE

2шт.

4

T41332

COUPLING, BREAK AWAY

COUPLER male

2шт.

5

T41975

BRACKET

1шт.

6

T41976

PLATE

1шт.

13-680

CAPSCREW,Hex, 3/8" - 16 x 5", Gr 5

4шт.

92-6

LOCK WASHER,3/8"

4шт.

25-106

NUT,3/8"-16, G5

hex. 3/8" NC

4шт.

7

T42307

CHAIN (AG)

1шт.

8

T41977

TURNBUCKLE

1шт.

9

T42289

LARGE PIN

PIN, LARGE

1шт.

132-48

COTTER PIN,1/8" x 1"

1шт.

10

T41978

ADAPTER

2шт.

11

T42302

BRACKET

2шт.

13-816

BOLT,Hex, 1/2" - 13 x 1", Gr 5, Full Thd

8шт.

92-8

LOCK WASHER,1/2"

8шт.

95-8

WASHER,1/2"

8шт.

12

T41979

CASTER

2шт.

13-820

BOLT,Hex, 1/2" - 13 x 1-1/4", Gr 5, Full Thd

8шт.

92-8

LOCK WASHER,1/2"

8шт.

25-108

NUT,1/2"-13, G5

Hex

8шт.

13

NSS

NOT SOLD SEPARAT

HOOD rear

1шт.

13-516

BOLT,Hex, 5/16" - 18 x 1", Gr 5

3шт.

13-512

BOLT,Hex, 5/16" - 18 x 3/4", Gr 5

4шт.

95-5

WASHER,3/8" x 7/8" x .083"

plain 5/16"

7шт.

92-5

LOCK WASHER,5/16"

7шт.

9635082

NUT,5/16" - 18, Gr 5

3шт.

14

T41980

SPACER

1шт.

15

D511278

CORE brush

1шт.

16

T41969

WHEEL

SPACER

35шт.

17

T41986

CYLINDER END CAP

2шт.

18

T41981

BEARING

2шт.

13-716

BOLT,Hex, 7/16" - 14 x 1", Gr 5

4шт.

92-7

LOCK WASHER,7/16"

4шт.

19

T41982

BUSHING

SPACER

1шт.

D110236

1шт.

D33554

BUSHING

1шт.

25-106

NUT,3/8"-16, G5

1шт.

13-624

BOLT,Hex, 3/8" - 16 x 1-1/2", Gr 5

1шт.

92-6

LOCK WASHER,3/8"

1шт.

D54744

SPARE PART

1шт.

20

T41984

SPARE PART

1шт.

13-616

BOLT,Hex, 3/8" - 16 x 1", Gr 5, Full Thd

6шт.

92-6

LOCK WASHER,3/8"

6шт.

21

B12501

LINK

connecting # 40 chain

1шт.

22

REF

INSTRUCTION

CHAIN-ROLLER (119 links, # 40 chain)

1шт.

Use (2) B12470 + (1) B12472 + (1) B12501 + (4) B12502 + (4) B12503.

1шт.

B12470

CHAIN (AG)

LINK roller (50 links, # 40 chain)

2шт.

B12472

CHAIN (AG)

LINK roller (10 links, # 40 chain)

1шт.

B12502

OFFSET LINK

# 40 chain

4шт.

B12503

ROLLER

LINK # 40 chain

4шт.

23

T41968

BRUSH

DISK

36шт.

24

NSS

NOT SOLD SEPARAT

FRAME

1шт.

25

T42306

AXLE PIN

1шт.

132-91

COTTER PIN,3/16" x 1"

2шт.

26

T42304

SPARE PART

1шт.

27

T42303

SPARE PART

1шт.

85-648

SCREW 3/8" x 3" NC

1шт.

25-106

NUT,3/8"-16, G5

hex. 3/8" NC

2шт.

28

T42305

SPARE PART

1шт.

13-516

BOLT,Hex, 5/16" - 18 x 1", Gr 5

1шт.

13-512

BOLT,Hex, 5/16" - 18 x 3/4", Gr 5

1шт.

95-5

WASHER,3/8" x 7/8" x .083"

plain 5/16"

2шт.

92-5

LOCK WASHER,5/16"

2шт.

9635082

NUT,5/16" - 18, Gr 5

1шт.

29

83-56

SET SCREW,Hex Soc, 5/16"-18 x 3/8"

5/16" x 3/8" NC

2шт.

30

T41987

DRIVE SPROCKET

1шт.

31

P2712S

SPARE PART

1шт.

32

T41963

MOTOR, ELECTRIC

hydraulics

1шт.

13-728

BOLT,Hex, 7/16" - 14 x 1-3/4", Gr 5

4шт.

92-7

LOCK WASHER,7/16"

4шт.

25-107

NUT,7/16"-14, G5

Hex. 7/16" NC

4шт.

33

NSS

NOT SOLD SEPARAT

HOOD front

1шт.

13-516

BOLT,Hex, 5/16" - 18 x 1", Gr 5

3шт.

13-512

BOLT,Hex, 5/16" - 18 x 3/4", Gr 5

3шт.

95-5

WASHER,3/8" x 7/8" x .083"

plain 5/16"

6шт.

92-5

LOCK WASHER,5/16"

6шт.

9635082

NUT,5/16" - 18, Gr 5

3шт.

34

T31049

SPARE PART Cotter-hair

2шт.

35

T41965

PIN

2шт.

36

NSS

NOT SOLD SEPARAT

FRAME

1шт.

37

T42288

CLEVIS COUPLING

PIN

1шт.

132-48

COTTER PIN,1/8" x 1"

1шт.

38

T41964

WASHER

RING

1шт.

39

218-903

HYD CONNECTOR,1/2" NPT x 1/2"

ADAPTER

2шт.

40

T41971

HOSE ASSY.

2шт.

41

221-1093

REDUCER,Hex, 3/4" x 1/2" NPT

2шт.

Выбрано товаров: 93