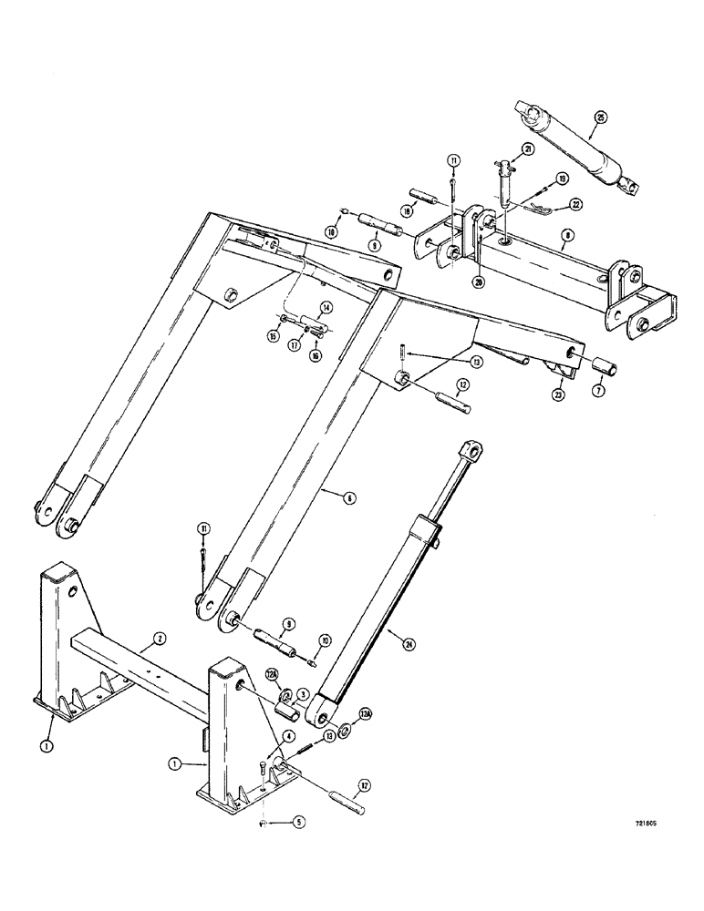
Запчасти Case 1530 (060) - LOADER LIFT FRAME AND RELATED PARTS NON-SELF LEVELING USED BEFORE SERIAL NO. 9820600 (09) - CHASSIS/ATTACHMENTS

Схема запчастей Case 1530 - (060) - LOADER LIFT FRAME AND RELATED PARTS NON-SELF LEVELING USED BEFORE SERIAL NO. 9820600 (09) - CHASSIS/ATTACHMENTS
FIT
1:1
100%

Артикул

Название

Примечание

Количество

D54708

SPARE PART ASSEMBLY, Includes Ref. 1 - 3

1шт.

1

NSS

NOT SOLD SEPARAT

UPRIGHT - non-self leveling models

2шт.

2

D53405

SPARE PART Cross, weld in place

1шт.

3

T40503

BUSHING

Lift arm pivot pin

2шт.

4

14-1028

BOLT,Hex, 5/8" - 18 x 1-3/4", Gr 5

12шт.

5

131-676

LOCK NUT,5/8"-11, GB

Hex, lock (5/8"-18 NF)

2шт.

6

T42629

SPARE PART ASSEMBLY - complete, Includes Ref. 7

1шт.

7

T40503

BUSHING

Speed change bar pivot

2шт.

8

T42442

SUPPORT

BAR - speed change

1шт.

9

T42405

PIN

Pivot, lift arm

4шт.

10

219-1

LUBE NIPPLE,1/8" - 27 NPTF

Straight (1/8" NPT)

4шт.

11

132-187

COTTER PIN,5/16" x 3"

4шт.

12

T40217

PIN

Lift cylinder

4шт.

12a

D57073

SPARE PART Lift cylinder

4шт.

13

138-142

LOCK PIN,1/4" x 2", Slotted

4шт.

14

T40220

PIN

Bucket cylinder, upper

2шт.

15

213-24

ROD

RETAINER - upper bucket cylinder pin

2шт.

16

13-616

BOLT,Hex, 3/8" - 16 x 1", Gr 5, Full Thd

2шт.

17

92-6

LOCK WASHER,3/8"

2шт.

18

T42446

PIN

Bucket cylinder, lower

2шт.

19

113-249

X

HHCS - 3/8" - 16 NC x 2-1/4" (Grade 8)

2шт.

20

131-652

LOCK NUT,3/8"-16, GB

2шт.

21

T41081

PIN

Quick hitch

2шт.

22

T40222

SPLIT PIN/SAFETY PIN

Hair

2шт.

23

T41644

STOP - lift arm (Welds in place)

2шт.

24

REF

INSTRUCTION

CYLINDER - lift (See Figs. 130, 134 and 136 for cylinders)

2шт.

25

REF

INSTRUCTION

CYLINDER - bucket (See Fig. 138 for cylinders)

2шт.

Выбрано товаров: 27