Запчасти Case 1530 (091A) - LOADER BUCKETS, FERTILIZER BUCKETS (09) - CHASSIS/ATTACHMENTS

Схема запчастей Case 1530 - (091A) - LOADER BUCKETS, FERTILIZER BUCKETS (09) - CHASSIS/ATTACHMENTS
FIT
1:1
100%

Артикул

Название

Примечание

Количество

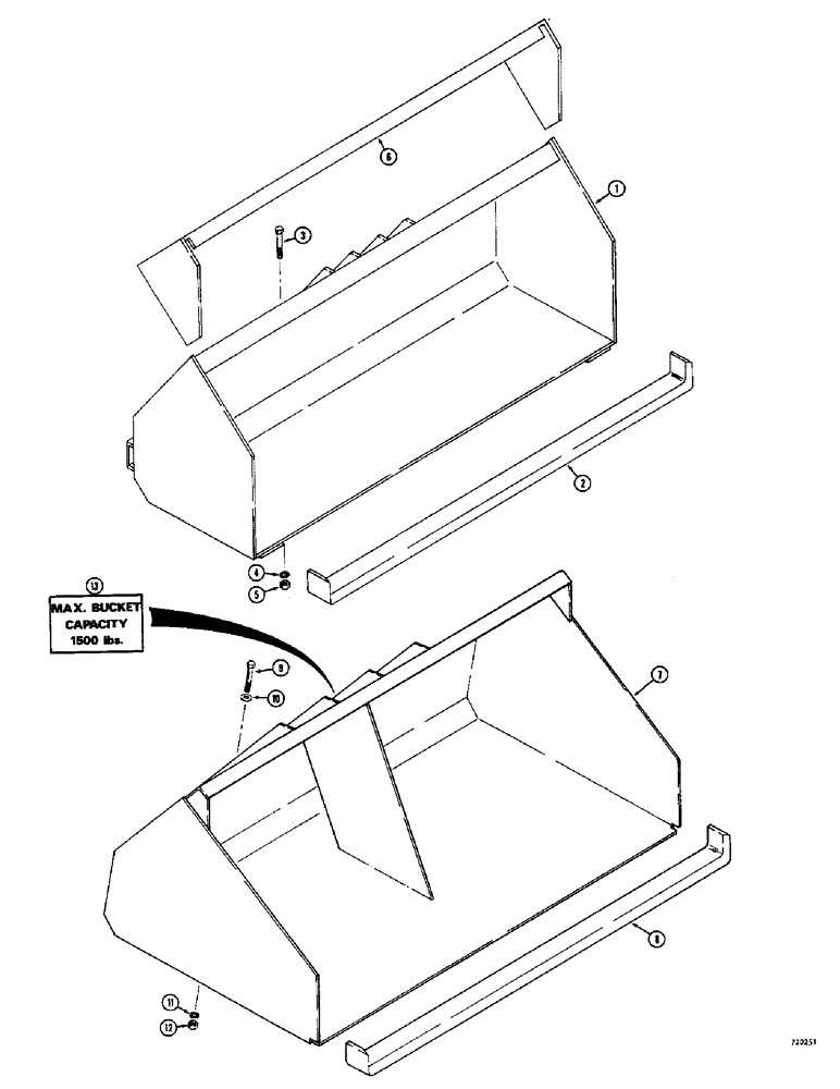
1

T88277

BUCKET - fertilizer, 20.1 cu. ft. (Mach. item) 60" wide, Includes: Ref. 2 - 5

1шт.

1

D57122

BUCKET - fertilizer, 20.1 cu. ft. (Mach. item) 60" wide, Includes: Ref. 2 - 5

1шт.

1

D58422

BUCKET - fertilizer, 20.1 cu. ft. (Mach. item) 60" wide, Includes: Ref. 2 - 5

1шт.

2

D54509

EDGE, CUTTING

EDGE - cutting, T88277, D57122 and D58422 bucket

1шт.

3

13-1096

BOLT,Hex, 5/8" - 11 x 6", Gr 5

HHCS - 5/8" - 11 NC x 6"

2шт.

4

92-10

LOCK WASHER,5/8"

WASHER, LOCK, 5/8"

2шт.

5

25-1010

NUT,5/8"-11, G5

2шт.

6

T89062

SPILL GUARD - for 60" bucket (Mach. item)

1шт.

1

T88573

BUCKET - heavy duty fertilizer, 16.5 cu. ft. (Mach. item) 60" wide, Use D58422 bucket for service, Includes: Ref. 2 - 5

1шт.

2

D54509

EDGE, CUTTING

EDGE - cutting

1шт.

3

13-1096

BOLT,Hex, 5/8" - 11 x 6", Gr 5

HHCS - 5/8" - 11 NC x 6"

2шт.

4

92-10

LOCK WASHER,5/8"

WASHER, LOCK, 5/8"

2шт.

5

25-1010

NUT,5/8"-11, G5

2шт.

6

T89062

SPILL GUARD - for 60" bucket (Mach. item)

1шт.

7

D55109

BUCKET - fertilizer, 1 cu. yd. (Mach. item) 60" wide, Includes: Ref. 8 - 13

1шт.

7

D55359

BUCKET - fertilizer, 1 cu. yd. (Mach. item - special paint) 60" wide, Includes: Ref. 8 - 13

1шт.

8

D54509

EDGE, CUTTING

EDGE - cutting (Replaces D54508)

1шт.

9

113-650

BOLT,Hex, 5/8" - 11 x 6-1/2", Gr 5

2шт.

10

195-541

WASHER,5/8", SAE

- flat, 5/8" (Zinc plated)

4шт.

11

192-25

LOCK WASHER,5/8"

WASHER, LOCK, 5/8"

2шт.

12

129-107

NUT,5/8"-11, G5

2шт.

13

321-2178

DECAL - 1 cu. yd.

1шт.

Выбрано товаров: 22