Запчасти Case 1816B (92) - NOISE CONTROL PARTS, SHEET METAL, PADS, AND WINDOWS (90) - PLATFORM, CAB, BODYWORK AND DECALS

Схема запчастей Case 1816B - (92) - NOISE CONTROL PARTS, SHEET METAL, PADS, AND WINDOWS (90) - PLATFORM, CAB, BODYWORK AND DECALS
FIT
1:1
100%

Артикул

Название

Примечание

Количество

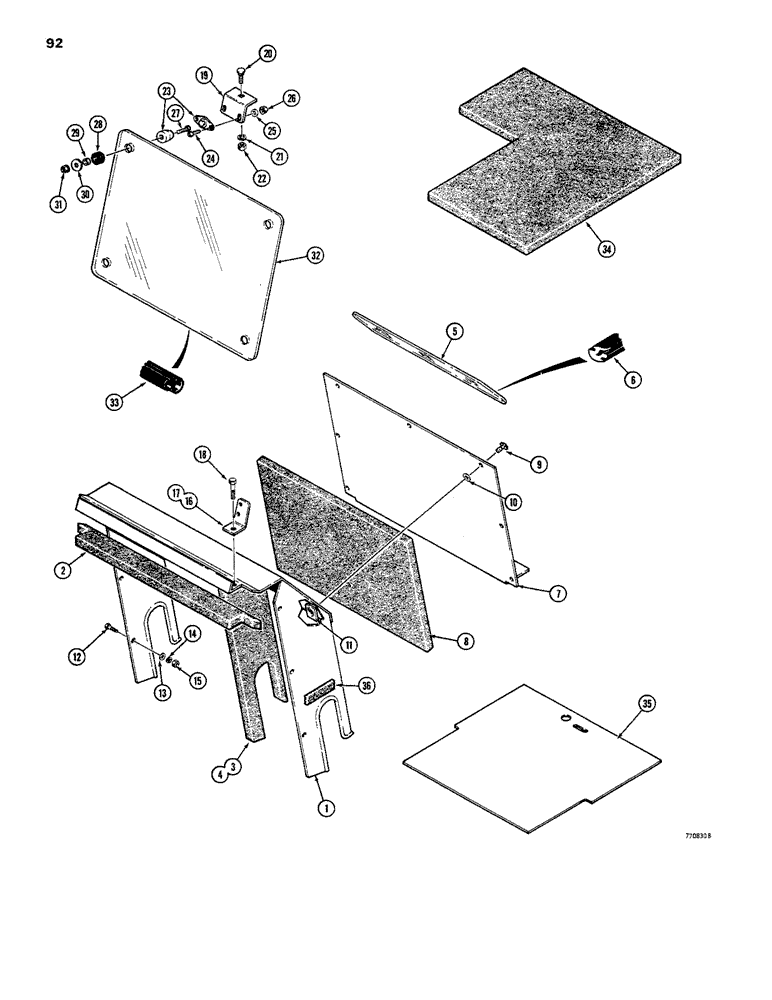
1

D74580

SHIELD - heat, top and sides

1шт.

2

D74532

PAD - insulation, top

1шт.

3

D74698

PAD - insulation, R.H.

1шт.

4

D74533

PAD - insulation, L.H.

1шт.

5

D77291

GLASS

WINDOW - heat shield

1шт.

6

D77292

LINING

MOLDING - glass

1шт.

7

D82400

SHIELD

- heat, front

1шт.

8

D74534

PAD - insulation, front

1шт.

9

D77755

CLAMP

STUD - oval head

7шт.

10

D77754

GROMMET

- half

7шт.

11

D77757

HOLDER

FASTENER - slip on

7шт.

12

113-118

BOLT,Hex, 5/16" - 18 x 5/8", Gr 5

6шт.

13

195-521

WASHER,5/16", SAE

- flat, 5/16", plated

6шт.

14

92-5

LOCK WASHER,5/16"

6шт.

15

9635082

NUT,5/16" - 18, Gr 5

6шт.

16

D75382

BRACKET

- holder, R.H.

1шт.

17

D75383

BRACKET - holder, L.H.

1шт.

18

113-412

BOLT,Hex, 1/2" - 13 x 1-3/4", Gr 5

2шт.

19

D75384

BRACKET - holder, upper

2шт.

20

111-512

CARRIAGE BOLT,Short NK, 1/2"-13 x 1", G2

BOLT, CARRIAGE, Short NK, 1/2"- 13 x 1", G2

2шт.

21

192-23

LOCK WASHER,1/2"

WASHER, LOCK, 1/2"

2шт.

22

129-105

NUT,Hex, 1/2" - 13, Gr 5

2шт.

23

F93104

HOLDER

FASTENER - stud and socket

4шт.

24

171244

GEAR

SCREW - flat head, No. 10 - 24 NC x 1", plated

8шт.

25

195-513

WASHER,#10

- flat, no. 10, plated

8шт.

26

193-1004

NUT,Keps, #10 - 24, w/ Ext Tooth LW

NUT AND WASHER - No. 10 - 24 NC

8шт.

27

182-534

SCREW,Sl Pan Hd, 1/4" - 20 x 1"

- pan head, 1/4" - 20 NC x 1"

4шт.

28

F37765

GROMMET,5/8" ID x 1 1/4" Groove Dia, Str Cut

- rear window

4шт.

29

D75086

BUSHING

SPACER - grommet

4шт.

30

195-2036

WASHER,13/32" x 2" x .109"

- special

4шт.

31

193-1006

NUT,Keps, w/LW, 1/4"-20

AND WASHER - 1/4" - 20 NC

4шт.

32

D74717

WINDOW

- rear

1шт.

33

D75077

SEAL

- window

1шт.

34

D74602

HEADLINER - ROPS canopy

1шт.

35

D75083

MAT - floor

1шт.

36

66072

LUBE NIPPLE

STRIP - insulation, side

2шт.

Выбрано товаров: 36