Запчасти Case 1816C (054) - BACKUP ALARM (04) - ELECTRICAL SYSTEMS

Схема запчастей Case 1816C - (054) - BACKUP ALARM (04) - ELECTRICAL SYSTEMS
FIT
1:1
100%

Артикул

Название

Примечание

Количество

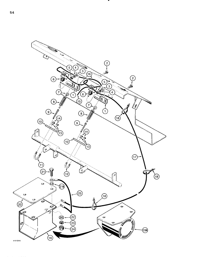
1

D90629

BRACKET

- switch

2шт.

2

113-3

BOLT,Hex, 1/4" - 20 x 3/4", Gr 5

2шт.

3

195-18

WASHER,1/4"

- flat, 1/4"

2шт.

4

192-19

LOCK WASHER,Helical Spring, 0.256" ID, CST, ZND

WASHER, LOCK, 1/4"

2шт.

5

7770

NUT,Hex, 1/4 - 20, Cl 5

1/4"-20, G5

2шт.

6

D86365

SWITCH

- backup alarm

2шт.

7

D86363

RING

-, Serial Range: switch-spring

2шт.

8

D90627

SPRING

- switch

2шт.

9

132-89

COTTER PIN,3/16" x 3/4"

Pin, Split (Cotter), 3/16" x 3/4"

2шт.

10

D90628

BAR

PLATE - spring mounting

2шт.

11

F60581

BOLT

U-BOLT - large

1шт.

12

D86366

U-BOLT

- small

1шт.

13

192-19

LOCK WASHER,Helical Spring, 0.256" ID, CST, ZND

WASHER, LOCK, 1/4"

4шт.

14

7770

NUT,Hex, 1/4 - 20, Cl 5

1/4"-20, G5

4шт.

15

D91859

FUSE

WIRE - key switch to backup alarm switch

1шт.

16

D72939

ELECTRICAL WIRE

WIRE - used between backup alarm switches

2шт.

17

D86438

ELECTRICAL WIRE

WIRE - to backup alarm

1шт.

18

L18337

CABLE TIE,9.95"-12.1" lg

STRAP - tie, 15 inch, nylon

3шт.

19

D121972

ALARM

- backup

1шт.

19a

D75814

BUZZER

ALARM - backup, no longer available, order D121972 for service

1шт.

20

D123106

BRACKET

- backup alarm

1шт.

21

113-102

BOLT,Hex, 5/16" - 18 x 3/4", Gr 5

Hex, 5/16"-18 x 3/4", G5, Full Thd

4шт.

21a

193-82

LOCK WASHER,Int Tooth, 5/16"

WASHER, LOCK, Int Tooth, 5/16"

1шт.

22

192-20

LOCK WASHER,Helical Spring, 0.318" ID, CST, ZND

WASHER, LOCK, 5/16"

4шт.

23

195-521

WASHER,5/16", SAE

- flat, 5/16", plated

4шт.

24

9635082

NUT,5/16" - 18, Gr 5

4шт.

25

D70125

ELECTRICAL WIRE

WIRE - backup alarm, ground

1шт.

Выбрано товаров: 0