Запчасти Case 1818 (9-236) - DELUXE NOISE KIT, DIESEL MODELS ONLY (09) - CHASSIS/ATTACHMENTS

Схема запчастей Case 1818 - (9-236) - DELUXE NOISE KIT, DIESEL MODELS ONLY (09) - CHASSIS/ATTACHMENTS
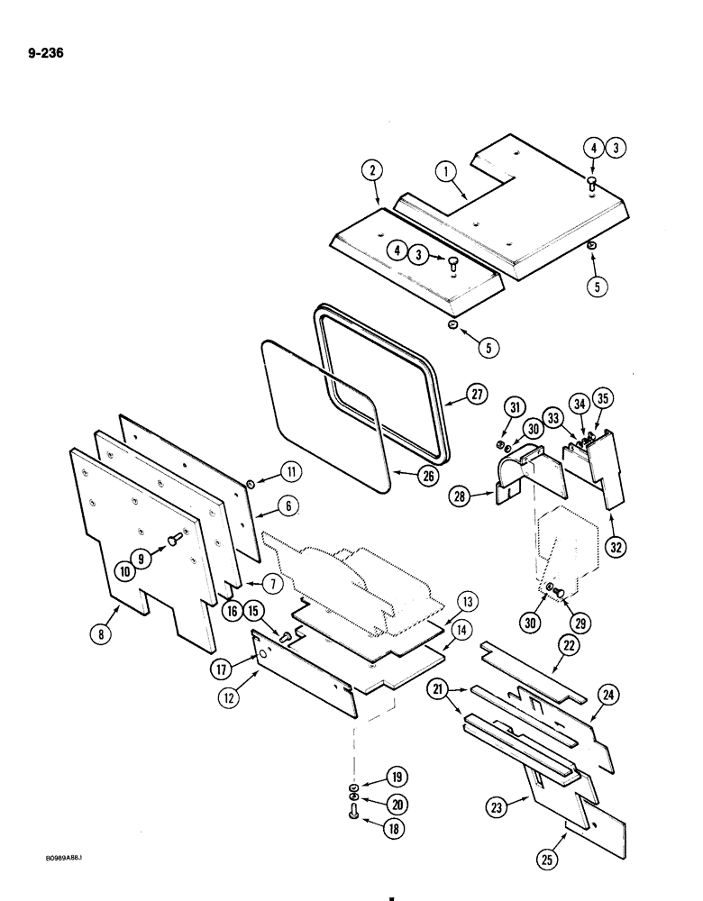
16
2
11
33
3
12
14
25
22
31
26
1
5
4
18
7
6
10
17
34
29
4
32
28
30
13
3
5
27
19
30
24
35
23
15
8
20
9
21
FIT
1:1
100%

Артикул

Название

Примечание

Количество

1

E320643

LINER roof interior, Replaces: P/N E99919

1шт.

320617

SHAFT

SCREW

6шт.

32068

SHAFT

WASHER

6шт.

825-1105

NUT,M5, Cl 8

6шт.

E20619

PLUG

1/4 in.

6шт.

2

E20236

INSULATOR

LINER roof exterior

1шт.

3

E99640

FASTENER

bonded, 50 mm long

6шт.

4

E99794

TAPE

self adhesive, 1 inch wide

6шт.

5

E99641

CAP

bonded fastener

6шт.

6

E99917

PAD

engine, firewall

1шт.

7

E20217

INSULATOR

PAD engine, firewall

1шт.

8

E99923

INSULATOR

PAD engine, firewall

1шт.

9

E20690

SCREW,M5 x 0.8 x 0.8mm

FASTENER bonded, Replaced: P/N E20235

6шт.

10

E99794

TAPE

self adhesive, 1 inch wide

6шт.

11

E99641

CAP

bonded fastener

6шт.

12

E20102

PAD

seat plate

1шт.

13

E99918

PAD

seat plate

1шт.

14

E20216

INSULATOR

PAD seat plate

1шт.

15

E20784

FASTENER bonded, 20 mm long, Replaced: P/N E99639

2шт.

16

E20684

SCREW

TAPE self adhesive, 1 inch wide, Replaced: P/N E99794

2шт.

17

E99641

CAP

bonded fastener

2шт.

18

113-2225

BOLT,Hex, 3/8" - 16 x 1-3/8", Gr 5

4шт.

19

195-258

WASHER, LOCK

WASHER flat, 3/8", plated

4шт.

20

192-21

LOCK WASHER,3/8"

WASHER, LOCK, 3/8"

4шт.

21

E99940

STRIP

retaining, special

4шт.

22

E99913

PAD

seat plate

1шт.

23

E20100

INSULATOR

PAD heel plate

1шт.

24

E99912

PAD

heel plate

1шт.

25

E99914

PAD

heel plate

1шт.

26

E20208

GLASS

SCREEN glazed, rear

1шт.

27

E20210

SEALING STRIP

CHANNEL rear screen

1шт.

28

E20233

COVER

equipment pump, upper

1шт.

29

113-103

BOLT,Hex, 5/16" - 18 x 1", Gr 5

2шт.

30

195-521

WASHER,5/16", SAE

flat, 5/16", plated

2шт.

31

231-1445

NUT,5/16"-18, GB

NUT hex, self locking, 5/16" - 18 NC, plated

2шт.

32

E20234

COVER

equipment pump, lower

1шт.

33

195-521

WASHER,5/16", SAE

flat, 5/16", plated

3шт.

34

192-20

LOCK WASHER,Helical Spring, 0.318" ID, CST, ZND

WASHER, LOCK, 5/16"

3шт.

Выбрано товаров: 38