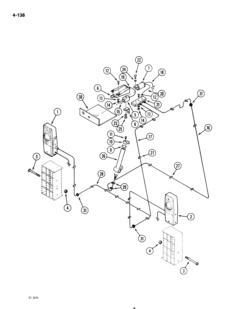
Запчасти Case 1818 (4-138) - ROAD LAMPS, NOT AVAILABLE IN NORTH AMERICA (04) - ELECTRICAL SYSTEMS

Схема запчастей Case 1818 - (4-138) - ROAD LAMPS, NOT AVAILABLE IN NORTH AMERICA (04) - ELECTRICAL SYSTEMS
20
29
9
12
14
5
3
14
7
16
18
31
13
17
25
19
28
27
27
26
22
23
4
8
10
13
30
11
4
2
15
1
31
6
21
31
3
24
12
FIT
1:1
100%

Артикул

Название

Примечание

Количество

1

E99149

LIGHT, WARNING

LAMP flasher, side and tail, left hand

1шт.

2

E99150

LIGHT, WARNING

LAMP flasher, side and tail, right hand

1шт.

3

E99166

SCREW

pan head slotted, M5

4шт.

4

825-1105

NUT,M5, Cl 8

hex, 5 mm - 0.8, plated

4шт.

5

D74330

SWITCH

ASSEMBLY remote fuel shut-off

1шт.

6

E20258

FLASHER SWITCH

SWITCH hazard warning

1шт.

7

E99253

FLASHER UNIT

UNIT flasher

1шт.

8

E99227

CLAMP

switch

1шт.

9

E99169

TERMINAL CONNECTOR

ADAPTER switch

1шт.

10

E99154

SWITCH

indicator, left hand or right hand

1шт.

11

E99168

SCREW

4 BA

2шт.

12

E99167

SCREW

M4 x 14 mm long

4шт.

13

895-11004

WASHER,4.3mm ID x 9mm OD x 0.8mm Thk

4шт.

14

825-1104

NUT,M4, Cl 8

M4 x 0.7, plated

4шт.

15

95781

BUTTON

KNOB lamp switch

1шт.

16

E20259

HARNESS

CABLE indicator, Serial Range: switch-unit

1шт.

17

E20257

HARNESS

to lamps, flasher

1шт.

18

E99229

ELECTRICAL WIRE

WIRE ground to flasher units

1шт.

19

E99309

ELECTRICAL WIRE

WIRE light, Serial Range: switch-unit

1шт.

20

E20123

ELECTRICAL WIRE

WIRE flasher to juction box

1шт.

21

E99239

JUNCTION BOX

BOX cable junction

1шт.

22

113-206

BOLT,Hex, 3/8" - 16 x 3/4", Gr 5, Full Thd

1шт.

23

129-103

NUT,Hex, 3/8" - 16, Gr 5

NUT, 3/8"-16, G5

1шт.

24

195-525

WASHER,3/8", SAE

flat, 3/8", plated

1шт.

25

192-21

LOCK WASHER,3/8"

WASHER, LOCK, 3/8"

1шт.

26

E99895

HANDLE

LEVER control, loader

1шт.

27

E84910

CLIP

wire harness

18шт.

28

E20260

HARNESS

CABLE light connector

1шт.

29

L18337

CABLE TIE,9.95"-12.1" lg

STRAP tie, 15 inch, nylon

3шт.

30

E20261

PLATE

COVER light switch

1шт.

31

49566

GROMMET

cable protection

3шт.

Выбрано товаров: 31