Запчасти Case 1818 (6-152) - LOADER CONTROLS (06) - POWER TRAIN

Схема запчастей Case 1818 - (6-152) - LOADER CONTROLS (06) - POWER TRAIN
17
35
18
28
3
10
20
29
37
34
13
19
27
1
31
34
11
35
25
33
34
36
18
7
12
34
27
24
31
19
32
38
26
30
22
39
41
21
26
6
5
16
5
10
4
4
32
2
40
36
14
11
7
15
34
35
3
36
33
9
34
23
6
FIT
1:1
100%

Артикул

Название

Примечание

Количество

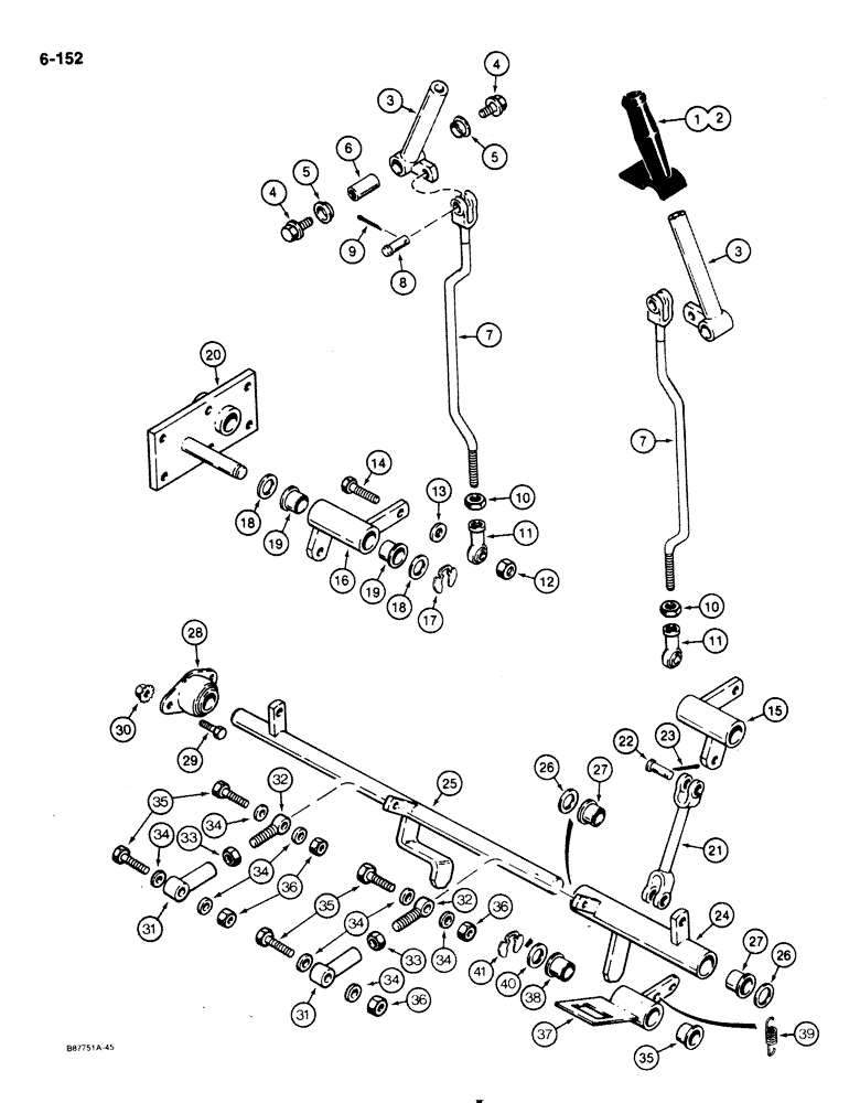
1

E99359

HANDLE

GRIP right hand control lever

1шт.

2

E99358

HANDLE

GRIP left hand control lever

1шт.

3

D135154

HANDLE

LEVER control, loader

2шт.

4

121-228

SERRATED BOLT,Hex, 3/8" - 16 x 3/4"

4шт.

5

D123758

FLANGED BEARING,15.9mm ID x 17.4mm OD x 9.46mm L

BUSHING control handle

4шт.

6

D135135

SPACER

control handle

2шт.

7

E99868

ROD

control

2шт.

8

141-54

CLEVIS PIN,3/8" x 1 1/16"

Special length 3/8" x 1 1/16"

2шт.

9

132-331

COTTER PIN,3/32" x 5/8"

PIN, SPLIT (COTTER), 3/32" x 5/8"

2шт.

10

86585245

SPECIAL NUT,JAM, 5/8" - 18

hex, jam, 3/8" - 24 NF, plated

2шт.

11

D59922

BALL JOINT

JOINT ball, 3/8" - 24 NF

2шт.

12

131-52

NUT,3/8"-16, GC

NUT hex, self locking, 3/8" - 16 NC, plated

2шт.

13

A30058

WASHER

special

2шт.

14

113-208

BOLT,Hex, 3/8" - 16 x 1-1/4", Gr 5

2шт.

15

D135150

CRANK

BELLCRANK right hand mounting bracket, Replaces: P/N D133150

1шт.

16

D135149

CRANK

BELLCRANK left hand mounting bracket

1шт.

17

D95097

RING, SNAP

RETAINER bellcrank

2шт.

18

A30881

SEALING WASHER,19.45mm ID x 31.35mm OD

WASHER flat, spacer

4шт.

19

72323

BUSHING,19.07mm ID x 28.57mm OD x 19.05mm L

nylon

4шт.

For setup that did not use the nylon bushing.See cat. 8-7240 page 6-7. The tubes had a smaller I.D. and didn't use the bushings.

1шт.

20

D135158

BRACKET

pivot mounting

2шт.

21

E99870

TIE-ROD

ROD connecting

2шт.

22

141-54

CLEVIS PIN,3/8" x 1 1/16"

Special length 3/8" x 1 1/16"

4шт.

23

132-331

COTTER PIN,3/32" x 5/8"

PIN, SPLIT (COTTER), 3/32" x 5/8"

4шт.

24

D135139

SLEEVE

SHAFT cross, bucket control

1шт.

25

D135146

SHAFT

cross, loader

1шт.

26

A30881

SEALING WASHER,19.45mm ID x 31.35mm OD

WASHER flat, spacer

2шт.

27

72323

BUSHING,19.07mm ID x 28.57mm OD x 19.05mm L

nylon

2шт.

For setup that did not use the nylon bushing.See cat. 8-7240 page 6-7. The tubes had a smaller I.D. and didn't use the bushings.

1шт.

28

D139039

BEARING ASSY,19mm ID

BEARING self aligning

2шт.

29

113-118

BOLT,Hex, 5/16" - 18 x 5/8", Gr 5

4шт.

30

131-931

FLANGE NUT,Flg, USR, 5/16"-18

hex, flange type, special locking, 5/16" - 18 NC

4шт.

31

E20032

JOINT

rod end ball, female

2шт.

32

E20033

JOINT

rod end ball male

2шт.

33

129-121

NUT,1/4"-28, G5

2шт.

34

195-515

WASHER,#12

plain, 1/4", plated

8шт.

35

13-420

BOLT,Hex, 1/4" - 20 x 1-1/4", Gr 5

4шт.

36

86625061

NUT,1/4"-20, GB

NUT self locking, 1/4" NC

4шт.

37

E99998

CRANK LEVER

LOCK loader

1шт.

38

72323

BUSHING,19.07mm ID x 28.57mm OD x 19.05mm L

nylon, loader lock

2шт.

For setup that did not use the nylon bushing.See cat. 8-7240 page 6-7. The tubes had a smaller I.D. and didn't use the bushings.

1шт.

39

A33699

SPRING

loader lock

1шт.

40

A30881

SEALING WASHER,19.45mm ID x 31.35mm OD

WASHER flat, spacer

1шт.

41

D95097

RING, SNAP

RETAINER loader lock

1шт.

Выбрано товаров: 44