Запчасти Case 1825 (4-28) - BACKUP ALARM (04) - ELECTRICAL SYSTEMS

Схема запчастей Case 1825 - (4-28) - BACKUP ALARM (04) - ELECTRICAL SYSTEMS
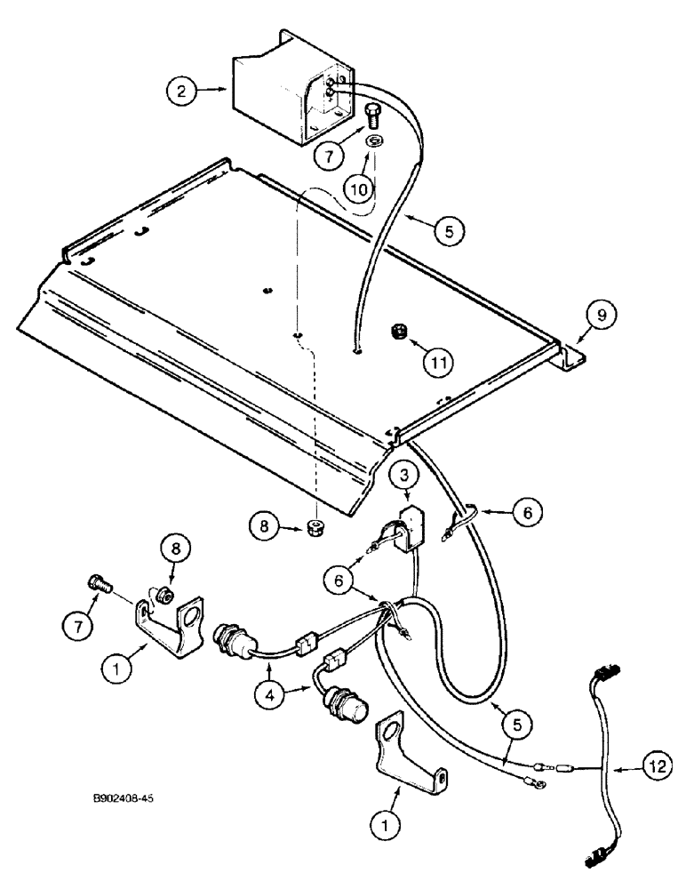
1
7
6
9
11
3
5
4
10
8
12
4
7
6
2
8
1
FIT
1:1
100%

Артикул

Название

Примечание

Количество

1

E20400

SUPPORT

BRACKET - switch mounting, was H435139

2шт.

2

D121972

ALARM

- backup

1шт.

REF 2 - FOR NEW STYLE ALARM USE 283178A3. CAN BE SEEN IN 85XT, 90XT, AND 95XT BOOKS 6/26/98

1шт.

3

D128310

RELAY

SWITCH - relay, was 1983394C1

1шт.

Ref. item 3 - D128310 relay is marked 40 amp on the relay-this is the RESISTANCE rating. The INDUCTIVE rating is 30 amps. We use this inductive rating in our literature. by tsg bb 11/10/97

1шт.

4

D136898

SWITCH

- proximity

2шт.

5

H438140

HARNESS

- backup alarm

1шт.

6

L18337

CABLE TIE,9.95"-12.1" lg

STRAP - tie, 15 inch, nylon

3шт.

7

413-516

BOLT,Hex, 5/16" - 18 x 1", Gr 5

- hex, 5/16 NC x 1 inch

4шт.

8

231-5145

SERRATED NUT,Flg, USR, 5/16"-18

NUT - hex, flange, self-locking, 5/16 inch NC

4шт.

9

H437295

HOOD ASSY.

COVER - battery

1шт.

10

495-11034

WASHER,5/16", SAE

5/16" SAE (flat, 11/32 x 11/16 x 1/16")

2шт.

11

49566

GROMMET

- battery cover

1шт.

12

H438141

HARNESS

- backup alarm power

1шт.

Выбрано товаров: 0