Запчасти Case 1835 (112) - FORWARD, REVERSE, AND LOADER CONTROLS (11) - TRACKS/STEERING

Схема запчастей Case 1835 - (112) - FORWARD, REVERSE, AND LOADER CONTROLS (11) - TRACKS/STEERING
FIT
1:1
100%

Артикул

Название

Примечание

Количество

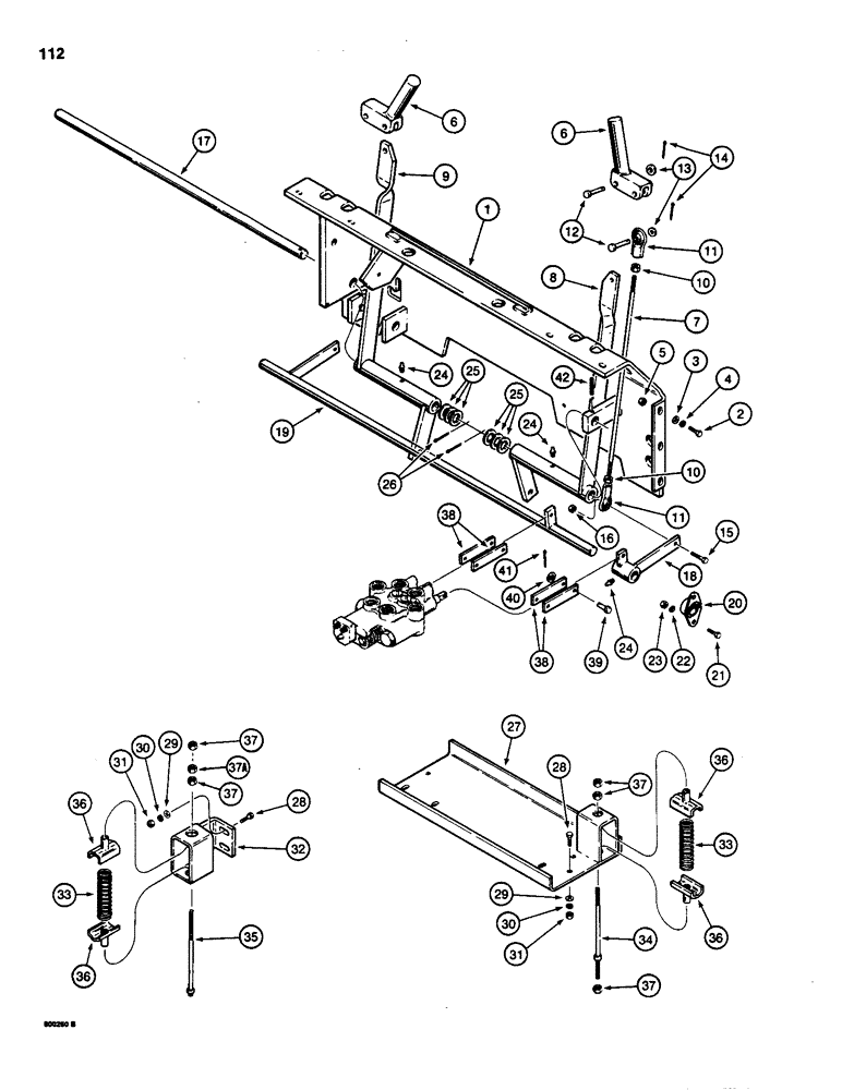
1

D93380

PANEL, INSTRUMENTS

PANEL lever control housing

1шт.

2

13-620

BOLT,Hex, 3/8" - 16 x 1-1/4", Gr 5, Full Thd

6шт.

3

195-25

WASHER,3/8"

6шт.

4

92-6

LOCK WASHER,3/8"

6шт.

5

25-106

NUT,3/8"-16, G5

hex, 3/8 inch - 16 NC

6шт.

6

D65261

HANDLE

control, without horn

2шт.

6

D93384

HANDLE

control, right-hand, not shown, order: P/N D93382 L.H. or P/N D93383 R.H. handle, as needed

1шт.

Used on models with horn see Fig. 106.

1шт.

7

D60525

ROD

control, handle

2шт.

8

D83600

HANDLE

LEVER control, handle, R.H.

1шт.

9

D83602

LEVER

control, handle, L.H.

1шт.

10

25-116

NUT,Hex, 3/8"-24, G5

hex, 3/8 - 24 NF

4шт.

11

D59922

BALL JOINT

SWIVEL rod, end

4шт.

12

141-12

CLEVIS PIN,3/8" x 1 5/16"

PIN clevis, 3/8 inch

4шт.

13

195-25

WASHER,3/8"

4шт.

14

132-25

COTTER PIN,3/32" x 5/8"

Pin, Split (Cotter), 3/32" x 5/8"

4шт.

15

13-620

BOLT,Hex, 3/8" - 16 x 1-1/4", Gr 5, Full Thd

2шт.

16

131-652

LOCK NUT,3/8"-16, GB

NUT lock, 3/8 inch - 16 NC

2шт.

17

D83601

SHAFT

pump, control

1шт.

18

D59933

CRANK

BELLCRANK lever

1шт.

19

D59938

SHAFT

lever, loader, valve

1шт.

20

L48412

FLANGED BEARING

BEARING flange

2шт.

21

13-612

BOLT,Hex, 3/8" - 16 x 3/4", Gr 5, Full Thd

4шт.

22

92-6

LOCK WASHER,3/8"

4шт.

23

25-106

NUT,3/8"-16, G5

hex, 3/8 inch - 16 NC

4шт.

24

219-1

LUBE NIPPLE,1/8" - 27 NPTF

FITTING grease, straight, 1/8 NPT

3шт.

25

195-45

WASHER,3/4"

1шт.

26

132-50

COTTER PIN,1/8" x 1 1/4"

Pin, Split (Cotter), 1/8" x 1 1/4"

2шт.

27

D90121

PLATE

battery, support and, spring housing, R.H.

1шт.

28

13-620

BOLT,Hex, 3/8" - 16 x 1-1/4", Gr 5, Full Thd

5шт.

29

195-25

WASHER,3/8"

5шт.

30

92-6

LOCK WASHER,3/8"

5шт.

31

25-106

NUT,3/8"-16, G5

hex, 3/8 inch - 16 NC

5шт.

32

D83598

HOUSING

spring, L.H.

1шт.

33

D70304

COMPRESSION SPRING,0.955" OD x 4.00" L

centering

2шт.

34

D70310

ROD

return, R.H.

1шт.

35

D87497

ROD

return, L.H.

1шт.

36

D72479

SUPPORT

CUP spring

4шт.

37

25-116

NUT,Hex, 3/8"-24, G5

hex, 3/8 inch - 24 NF

5шт.

37a

25-156

JAM NUT,Jam, 3/8"-24, G5

jam, hex, 3/8 inch - 24 NF

1шт.

38

D59934

LINK

loader, Serial Range: valve-bellcrank

4шт.

39

D50559

CLEVIS,9.53mm OD x 28.32mm L

PIN clevis, link

4шт.

40

195-18

WASHER,1/4"

flat, 1/4 inch

4шт.

41

132-5

COTTER PIN,1/16" x 1/2"

Pin, Split (Cotter), 1/16" x 1/2"

4шт.

42

138-104

LOCK PIN,3/16" x 2", Slotted

PIN, 3/16" x 2", Slotted

1шт.

Выбрано товаров: 45