Запчасти Case 1835 (070) - DIESEL ENGINE CONTROLS (03) - FUEL SYSTEM

Схема запчастей Case 1835 - (070) - DIESEL ENGINE CONTROLS (03) - FUEL SYSTEM
FIT
1:1
100%

Артикул

Название

Примечание

Количество

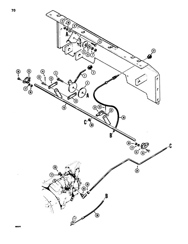
1

D80795

HANDLE

throttle, control

1шт.

2

D53845

KNOB

handle

1шт.

3

13-624

BOLT,Hex, 3/8" - 16 x 1-1/2", Gr 5

hex, head, 3/8 inch - 16 NC x 1-1/2 inch

1шт.

4

R15071

DISC

friction, handle

1шт.

5

R14771

WASHER

Bellville, handle

1шт.

6

195-25

WASHER,3/8"

1шт.

7

25-106

NUT,3/8"-16, G5

3/8" - 16 NC

2шт.

8

13-520

BOLT,Hex, 5/16" - 18 x 1-1/4", Gr 5

hex, head, 5/16 inch - 18 NC x 1-1/4 inch

1шт.

9

195-21

WASHER,5/16"

- flat, 5/16"

1шт.

10

92-5

LOCK WASHER,5/16"

1шт.

11

9635082

NUT,5/16" - 18, Gr 5

hex, 5/16 inch - 18 NC

1шт.

12

D90526

LINK

throttle, handle, friction disc

2шт.

13

141-2

CLEVIS PIN,1/4" x .770"

PIN clevis, link

2шт.

14

132-5

COTTER PIN,1/16" x 1/2"

Pin, Split (Cotter), , For clevis pin 1/16" x 1/2"

2шт.

15

D63966

FLANGED BEARING,0.508" ID x 1.12" OD x 0.56"

FLANGE bearing, side

2шт.

16

13-412

BOLT,Hex, 1/4" - 20 x 3/4", Gr 5, Full Thd

4шт.

17

92-4

LOCK WASHER,1/4"

WASHER, LOCK, 1/4"

5шт.

18

25-104

NUT,1/4"-20, G5

1/4 inch - 28 NF

4шт.

19

D88539

SHAFT

crossover

1шт.

20

25-114

NUT,1/4"-28, G5

1/4 inch - 28 NF

3шт.

21

213-2

ADJUSTABLE CLEVIS,1/4"-28 x 2"

CLEVIS adjustable, 1/4 inch

1шт.

22

141-2

CLEVIS PIN,1/4" x .770"

PIN clevis, for shaft to clevis

1шт.

23

132-5

COTTER PIN,1/16" x 1/2"

Pin, Split (Cotter), , For clevis pin 1/16" x 1/2"

1шт.

24

D87544

ROD

throttle, control

1шт.

25

A10329

BALL JOINT,1/4" - 28 x 1"

JOINT ball, rod

1шт.

26

D91272

CABLE

fuel, shutoff, control

1шт.

27

D91273

KNOB

cable

1шт.

Выбрано товаров: 27