Запчасти Case 1835 (080) - FUEL INJECTOR NOZZLE, 188 DIESEL ENGINE (03) - FUEL SYSTEM

Схема запчастей Case 1835 - (080) - FUEL INJECTOR NOZZLE, 188 DIESEL ENGINE (03) - FUEL SYSTEM
FIT
1:1
100%

Артикул

Название

Примечание

Количество

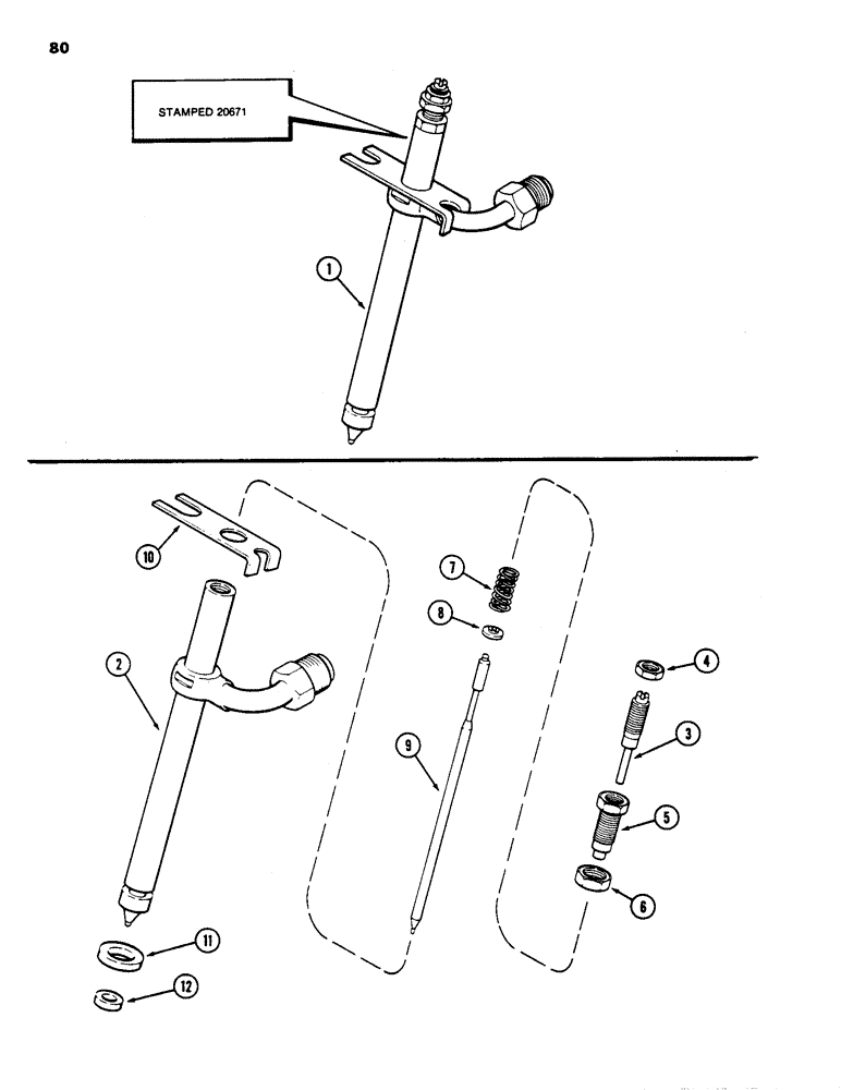
1

A140829

NOZZLE INJECTION

NOZZLE ASSEMBLY, fuel, injector, stamped 20671 on body, white color code, Includes: Ref. 2 thru 12

4шт.

When ever the nozzle is removed from the head P/N A41402 Seal mus t be replaced before the nozzle is installed back in the head.

1шт.

A140829R

REMAN-INJECT NOZZLE

1835

4шт.

A140829C

CORE-NOZZLE, INJECT

Return Number

1шт.

2

NSS

NOT SOLD SEPARAT

BODY nozzle

1шт.

3

A43599

ADJUSTMENT SCREW,#10 - 56 x 1.39"

SCREW adjusting, lift

1шт.

4

A43602

NUT

lock, lift, adjusting

1шт.

5

A43600

ADJUSTMENT SCREW,#10 - 56 x 0.68"

SCREW adjusting, pressure

1шт.

6

A42424

LOCK NUT

lock, pressure, adjusting

1шт.

7

A43733

SPRING

pressure, 9/16 inch (14 mm), free length, with red stain

1шт.

8

A44369

SEAT

spring

1шт.

9

NSS

NOT SOLD SEPARAT

VALVE nozzle

1шт.

10

A43506

PLATE ASSY.

PLATE hold, down

1шт.

11

A41403

WASHER,9.55mm ID x 14.18mm OD x 3.38mm Thk

nylon

1шт.

When ever the nozzle is removed from the head P/N A41402 Seal mus t be replaced before the nozzle is installed back in the head.

1шт.

12

A41402

SEAL,7.89mm ID x 9.74mm OD x 2.87mm Thk

carbon, stop

1шт.

Выбрано товаров: 16