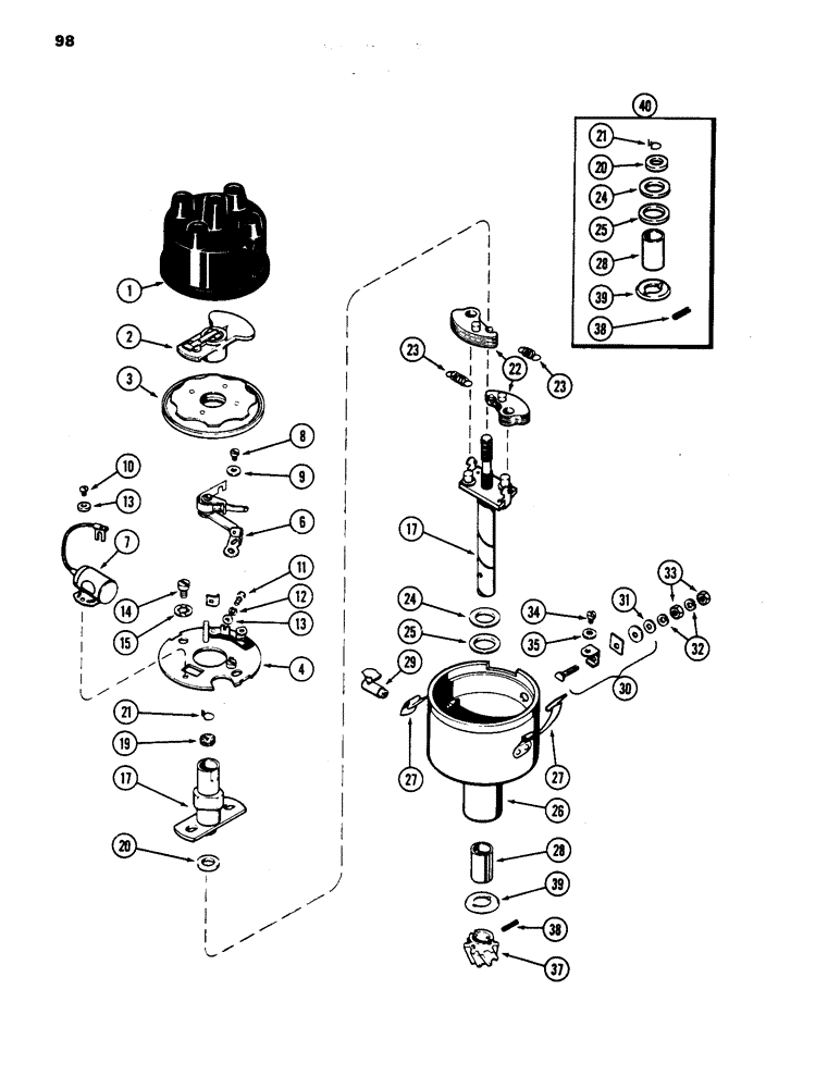
Запчасти Case 1835 (098) - DISTRIBUTOR ASSEMBLY, 148B SPARK IGNITION ENGINE (04) - ELECTRICAL SYSTEMS

Схема запчастей Case 1835 - (098) - DISTRIBUTOR ASSEMBLY, 148B SPARK IGNITION ENGINE (04) - ELECTRICAL SYSTEMS
FIT
1:1
100%

Артикул

Название

Примечание

Количество

A38970

DISTRIBUTOR

ASSEMBLY engine, Prestolite IAD-6003-2K, Includes: Ref. 1 thru 39

1шт.

1

A8368

CAP

ASSEMBLY, distributor, Includes; carbon brush and spring

1шт.

2

A8369

ROTOR

ASSEMBLY, distributor

1шт.

3

A25194

PLATE

COVER ASSEMBLY, breaker plate, Includes: dust seal

1шт.

4

A25196

PLATE

ASSEMBLY, breaker, Includes: P/N A40929 and Ref. 8 thru 13

1шт.

A40929

KIT

SET distributor, point and condenser, Includes: Ref. 6 and 7

1шт.

6

NSS

NOT SOLD SEPARAT

SET point, breaker

1шт.

7

A48371

CAPACITOR

CONDENSER distributor

1шт.

8

177-72

SCREW fillister, head, No. 8-36 x 3/16 inch

1шт.

9

87812

LOCK WASHER,#8

Washer, Lock, #8

1шт.

10

177-56

SCREW fillister, head, No. 6-40 x 3/16 inch

1шт.

11

171-216

SCREW,Sl Flat Hd, #6 - 32 x 5/16"

fillister, head, No. 6-32 x 5/16 inch

1шт.

12

192-15

LOCK WASHER,Helical Spring, #6, 0.145" ID, CST, ZND

Washer, Lock, #6

1шт.

13

195-506

WASHER,#6

flat, 5/32 x 5/16 x 3/64 inch (4 x 8 x 1 mm)

2шт.

14

177-94

SCREW,Sl Fil Hd, #10 - 32 x 5/16"

fillister, head, No. 10-32 x 5/16 inch

2шт.

15

193-99

LOCK WASHER,Int Tooth, #10

WASHER, LOCK, Int Tooth, #10

2шт.

17

A42817

CAMSHAFT

ASSEMBLY, distributor, Includes: P/N A42818, ref. 21 thru 23

1шт.

A42818

KIT

oiler, Includes: Ref. 19 and 20

1шт.

19

NSS

NOT SOLD SEPARAT

WICK oiler

1шт.

20

NSS

NOT SOLD SEPARAT

WASHER spacer

1шт.

Part of Bearing Kit, P/N A40322.

1шт.

21

A25180

RING, SNAP

RING retaining

1шт.

Part of Bearing Kit, P/N A40322.

1шт.

22

A25198

WEIGHT

governor

2шт.

23

A25208

SET

spring, weight, set of 2

1шт.

24

A24752

WASHER

thrust, inner

1шт.

Part of Bearing Kit, P/N A40322.

1шт.

25

A24753

WASHER

thrust, outer

1шт.

Part of Bearing Kit, P/N A40322.

1шт.

26

NSS

NOT SOLD SEPARAT

BASE body, distributor

1шт.

27

A42815

PACKAGE

CLAMP ASSEMBLY, cap, set of 2

1шт.

28

NSS

NOT SOLD SEPARAT

BEARING, body

1шт.

Part of Bearing Kit, P/N A40322.

1шт.

29

A24887

OILER camshaft, bearing

1шт.

30

A45242

BUSHING

KIT terminal, stud

1шт.

31

195-505

WASHER,#4

flat, 5/32 x 5/16 x 3/64, inch (4 x 8 x 1 mm)

1шт.

32

192-18

LOCK WASHER,Helical Spring, #10, 0.196" ID, CST, ZND

WASHER, LOCK, #10

2шт.

33

129-37

NUT,#10-32

2шт.

34

174-56

SCREW round, head, No. 6-32 x 3/16 inch

1шт.

35

192-15

LOCK WASHER,Helical Spring, #6, 0.145" ID, CST, ZND

Washer, Lock, #6

1шт.

A40323

GEAR

KIT gear, distributor, drive, Includes: Ref. 37 thru 39

1шт.

37

NSS

NOT SOLD SEPARAT

GEAR drive

1шт.

38

138-56

LOCK PIN,1/8" x 11/16", Slotted

PIN, 1/8" x 11/16", Slotted

1шт.

Part of Bearing Kit, P/N A40322.

1шт.

39

A25200

WASHER

thrust

1шт.

Part of Bearing Kit, P/N A40322.

1шт.

40

A40322

KIT

bearing, Includes: ref. 20, 21, 24, 25, 28, 38 and 39

1шт.

Выбрано товаров: 0