Запчасти Case 1835B (8-170) - AUXILIARY CONTROLS AND VALVE MOUNTING (08) - HYDRAULICS

Схема запчастей Case 1835B - (8-170) - AUXILIARY CONTROLS AND VALVE MOUNTING (08) - HYDRAULICS
FIT
1:1
100%

Артикул

Название

Примечание

Количество

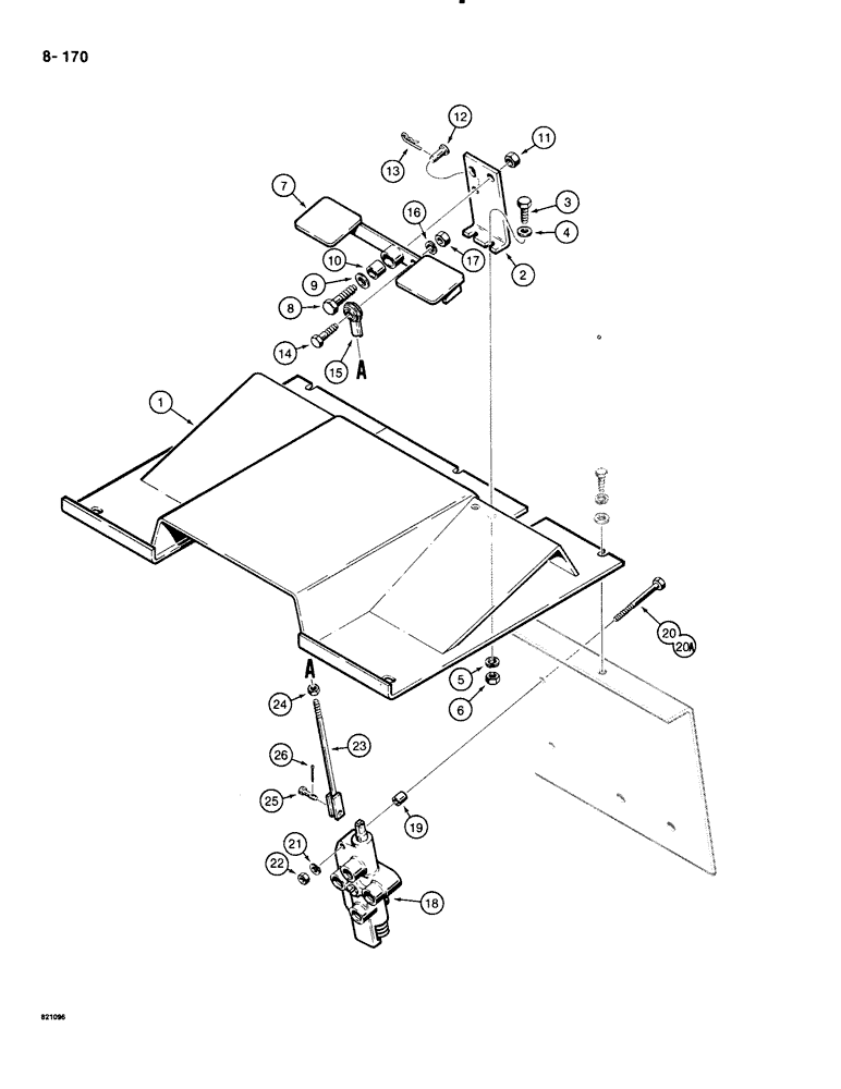
1

REF

INSTRUCTION

PLATE floor, see Fig. 9-200 for floor plates

1шт.

2

D124393

BRACKET

pedal mounting

1шт.

3

113-206

BOLT,Hex, 3/8" - 16 x 3/4", Gr 5, Full Thd

hex head, 3/8" - 16 NC x 1", plated

2шт.

4

195-525

WASHER,3/8", SAE

flat, 3/8", plated

2шт.

5

192-21

LOCK WASHER,3/8"

WASHER, LOCK, 3/8"

2шт.

6

129-103

NUT,Hex, 3/8" - 16, Gr 5

NUT, 3/8"-16, G5

2шт.

7

D60607

PEDAL

control, valve

1шт.

8

113-421

BOLT,Hex, 1/2" - 13 x 2", Gr 5

1шт.

9

195-533

WASHER,1/2", SAE

flat, 1/2", plated

1шт.

10

L14781

BUSHING,12.8mm ID x 15.94mm OD x 25.4mm L

pedal

1шт.

11

131-1116

LOCK NUT,1/2"-13, GB

NUT, LOCK, 1/2"-13, GB

1шт.

12

141-54

CLEVIS PIN,3/8" x 1 1/16"

1шт.

13

136-159

HAIR PIN COTTER,Int, 3/16 x .080"

PIN, SPLIT (COTTER), Int, 3/16 x .080"

1шт.

14

113-209

BOLT,Hex, 3/8" - 16 x 1-1/2", Gr 5

1шт.

15

D59922

BALL JOINT

rod end, female

1шт.

16

192-21

LOCK WASHER,3/8"

WASHER, LOCK, 3/8"

1шт.

17

129-103

NUT,Hex, 3/8" - 16, Gr 5

NUT, 3/8"-16, G5

1шт.

18

D64670

VALVE

CONTROL VALVE auxiliary, parts list Fig. 8-174

1шт.

19

D95741

BUSHING

SPACER support, auxiliary control valve

2шт.

20

113-138

BOLT,Hex, 5/16" - 18 x 3-1/2", Gr 5

Upper Hex, 5/16"-18 x 3 1/2", G5

1шт.

20a

113-159

SCREW,Hex, 5/16" - 18 x 3 3/4", Gr 5

BOLT, , Lower Hex, 5/16"-18 x 3 3/4", G5

1шт.

21

192-20

LOCK WASHER,Helical Spring, 0.318" ID, CST, ZND

WASHER, LOCK, 5/16"

2шт.

22

9635082

NUT,5/16" - 18, Gr 5

2шт.

23

D89491

ROD

control, auxiliary control valve

1шт.

24

129-123

NUT,3/8"-24, G5

1шт.

25

F13790

PIN

CLEVIS PIN auxiliary control valve

1шт.

26

132-328

COTTER PIN,1/16" x 1/2"

PIN, SPLIT (COTTER), 1/16" x 1/2"

1шт.

Выбрано товаров: 27