Запчасти Case 1835C (2-12) - MUFFLER AND EXHAUST SYSTEM, GASOLINE MODELS ONLY (02) - ENGINE

Схема запчастей Case 1835C - (2-12) - MUFFLER AND EXHAUST SYSTEM, GASOLINE MODELS ONLY (02) - ENGINE
FIT
1:1
100%

Артикул

Название

Примечание

Количество

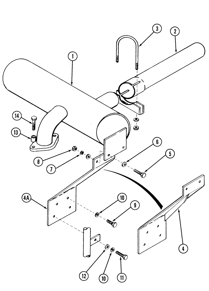
1

A184843

MUFFLER

exhaust, standard, no longer available, order P/N A184864 muffler

1шт.

1

A184864

MUFFLER

exhaust, spark arresting, Includes: Ref. 1A

1шт.

1a

217-77

PLUG

square, 3/8 inch PT, brass, used with spark arresting muffler only

1шт.

2

D139191

PIPE, EXHAUST SYSTEM

PIPE exhaust

1шт.

3

R11500

CLAMP

exhaust pipe, includes hardware

1шт.

4

A184801

BRACKET

muffler mounting, no longer available, order P/N H673181 bracket

1шт.

4a

H673181

BRACKET

muffler mounting

1шт.

5

413-620

BOLT,Hex, 3/8" - 16 x 1-1/4", Gr 5

hex, 3/8 NC x 1-1/4 inch

2шт.

6

496-21041

WASHER,13/32" x 13/16" x .089", HDN

flat, hardened, 13/32 x 13/16 x 3/32"

4шт.

7

492-11038

LOCK WASHER,3/8"

2шт.

8

425-106

NUT,3/8"-16, Cl 5

2шт.

9

614-8025

BOLT,Hex, M8 x 1.25 x 25mm, Cl 8.8, Full Thd

hex, full threads, 8-1.25 x 25 mm

3шт.

10

892-11008

LOCK WASHER,8mm ID

WASHER, LOCK, M8

4шт.

11

614-8030

BOLT,Hex, M8 x 1.25 x 30mm, Cl 8.8, Full Thd

HH, CL 8.8, M8 x 1.25 x 30

1шт.

12

495-81113

WASHER,0.34" ID x 0.75" OD x 0.18" Thk

flat, 11/32 x 3/4 x 3/16 inch, used with Ref. 12 only

1шт.

13

R24325

SPACER

, Serial Range: muffler-manifold

2шт.

14

814-12060

BOLT,Hex, M12 x 1.75 x 60mm, Cl 8.8

- hex head, 12 mm - 1.75 x 60 mm (8.8)

2шт.

Выбрано товаров: 17