Запчасти Case 1835C (3-12) - GASOLINE ENGINE CONTROLS, P.I.N. JAF0037367 AND AFTER (03) - FUEL SYSTEM

Схема запчастей Case 1835C - (3-12) - GASOLINE ENGINE CONTROLS, P.I.N. JAF0037367 AND AFTER (03) - FUEL SYSTEM
FIT
1:1
100%

Артикул

Название

Примечание

Количество

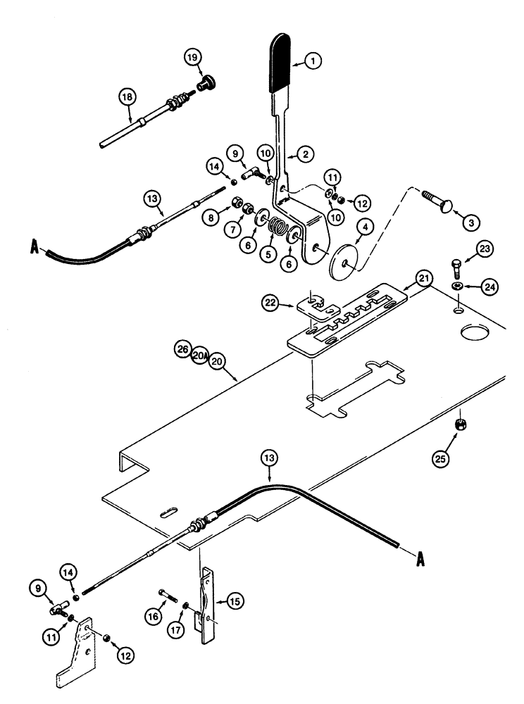
1

D126613

HANDLE

GRIP lever, vinyl

1шт.

2

H672947

LEVER

throttle control

1шт.

3

433-636

CARRIAGE BOLT,Sq Nk, 3/8" - 16 x 2 1/4", Gr 5

BOLT carriage, 3/8 NC x 2-1/4 inch

1шт.

4

D138421

WASHER

flat, special, throttle lever

1шт.

5

H46334

SPRING

throttle lever

1шт.

6

495-21044

WASHER,3/8"

(flat, 7/16 x 1 x 5/64 inch) 3/8"

2шт.

7

425-106

NUT,3/8"-16, Cl 5

1шт.

8

425-146

JAM NUT,3/8" - 16, Gr 5

hex, jam, 3/8 inch NC

1шт.

9

H436234

BALL JOINT

JOINT ball

2шт.

10

495-11028

WASHER,1/4", SAE

(flat, 9/32 x 5/8 x 1/16") 1/4", SAE

2шт.

11

492-11025

LOCK WASHER,1/4"

WASHER, LOCK, 1/4"

2шт.

12

425-114

NUT,1/4"-28, G5

2шт.

13

H673321

CABLE

throttle

1шт.

14

225-14210

NUT,#10-32

2шт.

15

H435871

BRACKET

cable

1шт.

16

614-8020

BOLT,Hex, M8 x 1.25 x 20mm

hex, full threads, 8-1.25 x 20 mm

2шт.

17

492-11031

LOCK WASHER,5/16"

WASHER, LOCK, 5/16"

2шт.

18

H435934

CABLE

choke control, 36 inch

1шт.

19

H435935

KNOB

choke control cable, 1/4 inch NC

1шт.

20

H673455

COVER ASSY

PANEL right-hand closure, used on models with dual seat bar, Serial Range: -JAF0097243

1шт.

20a

121045A1

COVER ASSY

PANEL right-hand closure, used on models with dual seat bar, see Ref. 26 for models with single seat bar, Start Serial: JAF0097243

1шт.

21

H435207

LARGE PLATE

PLATE throttle, for plate mounting hardware see Figure 9-36 and 9-38

1шт.

22

H435208

LARGE PLATE

PLATE throttle stop

1шт.

23

413-512

BOLT,Hex, 5/16" - 18 x 3/4", Gr 5

hex, 5/16 NC x 3/4 inch

2шт.

24

496-11034

WASHER,11/32" x 11/16" x 1/16", HDN

2шт.

25

231-5145

SERRATED NUT,Flg, USR, 5/16"-18

NUT hex serrated flange, 5/16 inch NC

1шт.

26

133623A1

COVER ASSY

PANEL right-hand closure, used on models with single seat bar

1шт.

Выбрано товаров: 27