Запчасти Case 1838 (9-36) - BACKHOE CONTROL TOWER, D100 OR D100XR BACKHOE (09) - CHASSIS/ATTACHMENTS

Схема запчастей Case 1838 - (9-36) - BACKHOE CONTROL TOWER, D100 OR D100XR BACKHOE (09) - CHASSIS/ATTACHMENTS
8
3
1
9
11
7
2
5
4
10
6
FIT
1:1
100%

Артикул

Название

Примечание

Количество

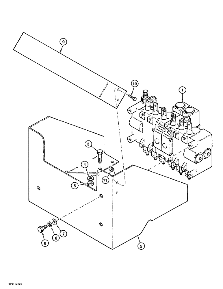
1

H674300

VALVE

ASSEMBLY, control, backhoe, manufactured by Dukes, parts list Figure 8-44 through 8-50

1шт.

2

H437850

BRACKET

CONSOLE valve mounting

1шт.

3

413-620

BOLT,Hex, 3/8" - 16 x 1-1/4", Gr 5

hex, 3/8 NC x 1-1/4 inch

4шт.

4

496-21041

WASHER,13/32" x 13/16" x .089", HDN

flat, hardened, 13/32 x 13/16 x 3/32"

4шт.

5

230-4216

LOCK NUT,3/8"-16, GA

NUT hex, self locking, 3/8 inch NC

4шт.

6

414-512

BOLT,Hex, 5/16" - 24 x 3/4", Gr 5

3шт.

7

496-11034

WASHER,11/32" x 11/16" x 1/16", HDN

flat, hardened, 11/32 x 11/16 x 1/16 inch, Replaces H426775

3шт.

8

492-11031

LOCK WASHER,5/16"

WASHER, LOCK, 5/16"

3шт.

9

H437849

LARGE PLATE

PLATE decal mounting

1шт.

10

413-412

BOLT,Hex, 1/4" - 20 x 3/4", Gr 5

- hex, 1/4 NC x 3/4 inch

4шт.

11

230-4214

LOCK NUT,1/4"-20, GA

NUT hex, self locking, 1/4 inch NC

4шт.

Выбрано товаров: 11