Запчасти Case 1840 (04-17) - FRONT SIDE LAMPS, (ITALIAN D.G.M.) (04) - ELECTRICAL SYSTEMS

Схема запчастей Case 1840 - (04-17) - FRONT SIDE LAMPS, (ITALIAN D.G.M.) (04) - ELECTRICAL SYSTEMS
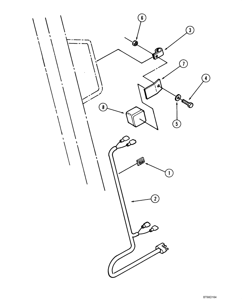
3
5
4
8
2
7
1
6
FIT
1:1
100%

Артикул

Название

Примечание

Количество

1

E137175

Lights; Front Side; No Longer Used, Order 189124A2

2шт.

1

189124A2

LIGHT ASSY.

Front Side; Incl. 2

2шт.

2

259192A1

BULB

1шт.

3

111184A1

Side Lamp Mounting; No Longer Used, Order 304833A1; Not Illustrated

1шт.

3

304833A1

SUPPORT

2шт.

4

440-1108

SCREW,Cross Pan Hd, #10-24 x 1/2"

Replaces 470-10620

4шт.

5

193-1004

NUT,Keps, #10 - 24, w/ Ext Tooth LW

No. 10; Replaces 193-1003

4шт.

6

413-510

BOLT,Hex, 5/16" - 18 x 5/8", Gr 5

2шт.

7

495-11034

WASHER,5/16", SAE

(11/32 x 11/16 x 1/16")

2шт.

8

231-5145

SERRATED NUT,Flg, USR, 5/16"-18

2шт.

9

515-22190

CLAMP,3/4", Insul, 5/16" Bolt

2шт.

10

141423A1

HARNESS

1шт.

11

H439303

CLIP

13шт.

Выбрано товаров: 13