Запчасти Case 1845B (190) - AUXILIARY EQUIPMENT CONTROLS, SELECTOR VALVE AND MOUNTING, BASIC AUXILIARY CONTROL (08) - HYDRAULICS

Схема запчастей Case 1845B - (190) - AUXILIARY EQUIPMENT CONTROLS, SELECTOR VALVE AND MOUNTING, BASIC AUXILIARY CONTROL (08) - HYDRAULICS
8
5
1
24
30
23
19
31
35
17
12
5
36
29
4
14
2
16
4
26
32
18
11
6
22
28
7
3
27
21
34
33
15
20
10
13
9
25
FIT
1:1
100%

Артикул

Название

Примечание

Количество

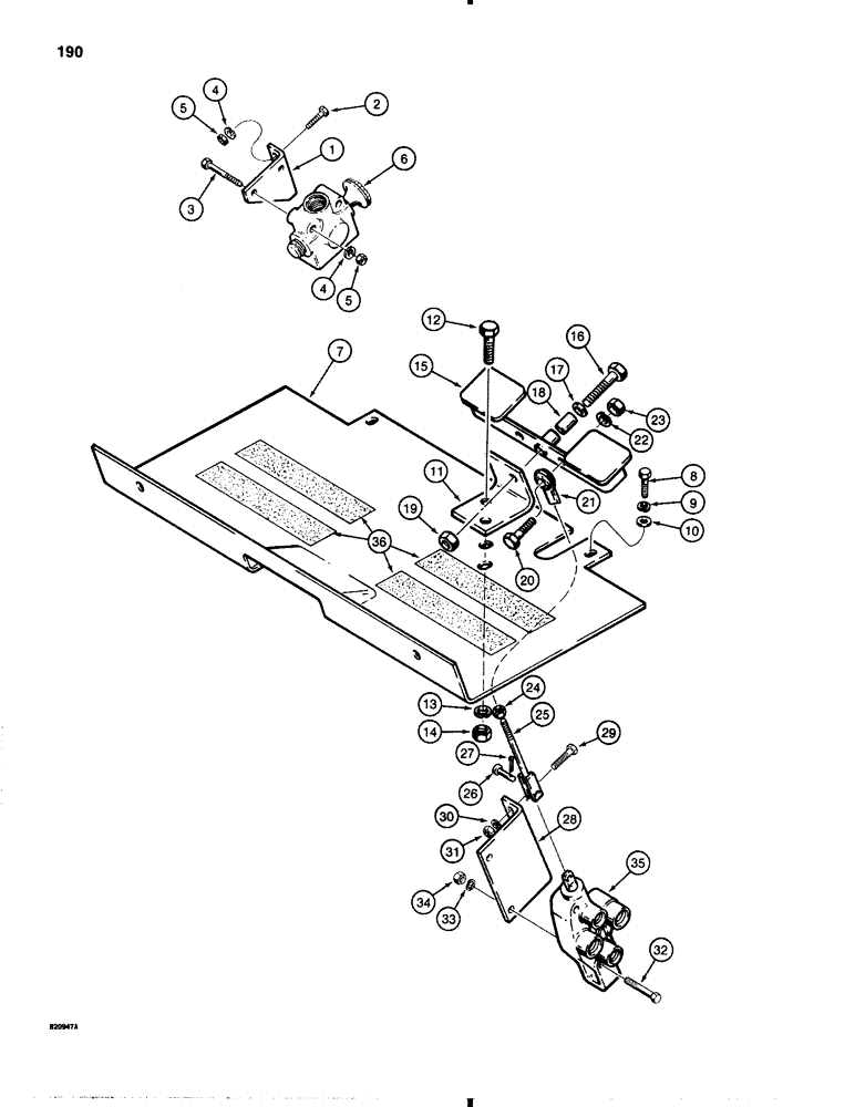
1

D62954

BRACKET

selector valve mounting

1-2шт.

2

113-103

BOLT,Hex, 5/16" - 18 x 1", Gr 5

2-4шт.

3

113-121

BOLT,Hex, 5/16" - 18 x 2", Gr 5

2-4шт.

4

192-20

LOCK WASHER,Helical Spring, 0.318" ID, CST, ZND

WASHER, LOCK, 5/16"

4-8шт.

5

9635082

NUT,5/16" - 18, Gr 5

4-8шт.

6

REF

INSTRUCTION

SELECTOR VALVE parts list Fig. 176

1-2шт.

7

D70294

PLATE

floor, models with auxiliary hydraulics, basic auxiliary control

1шт.

For floor plate used on models without auxiliary hydraulics, see Figure: 218

1шт.

8

113-208

BOLT,Hex, 3/8" - 16 x 1-1/4", Gr 5

Basic auxiliary control Hex, 3/8"-16 x 1 1/4", G5, Full Thd

4шт.

9

192-21

LOCK WASHER,3/8"

WASHER, LOCK, , Basic auxiliary control 3/8"

4шт.

10

195-525

WASHER,3/8", SAE

flat, 3/8", plated, basic auxiliary control

4шт.

11

D70289

BRACKET

pedal mounting, basic auxiliary control

1шт.

12

113-424

BOLT,Hex, 1/2" - 13 x 1", Gr 5, Full Thd

Basic auxiliary control Hex, 1/2"-13 x 1", G5, Full Thd

2шт.

13

192-23

LOCK WASHER,1/2"

WASHER, LOCK, , Basic auxiliary control 1/2"

2шт.

14

129-105

NUT,Hex, 1/2" - 13, Gr 5

Basic auxiliary control 1/2"-13, G5

2шт.

15

D60607

PEDAL

control, valve, basic auxiliary control

1шт.

16

113-421

BOLT,Hex, 1/2" - 13 x 2", Gr 5

Basic auxiliary control Hex, 1/2"-13 x 2", G5

1шт.

17

195-533

WASHER,1/2", SAE

flat, 1/2", plated, basic auxiliary control

1шт.

18

L14781

BUSHING,12.8mm ID x 15.94mm OD x 25.4mm L

pedal, basic auxiliary control

1шт.

19

131-70

NUT,1/2"-13, GB

NUT hex, self-locking, 1/2" - 13 NC, plated, basic auxiliary control

1шт.

20

113-209

BOLT,Hex, 3/8" - 16 x 1-1/2", Gr 5

Basic auxiliary control Hex, 3/8"-16 x 1 1/2", G5

1шт.

21

D59922

BALL JOINT

female, special, basic auxiliary control

1шт.

22

192-21

LOCK WASHER,3/8"

WASHER, LOCK, , Basic auxiliary control 3/8"

1шт.

23

129-103

NUT,Hex, 3/8" - 16, Gr 5

NUT, , Basic auxiliary control 3/8"-16, G5

1шт.

24

129-123

NUT,3/8"-24, G5

Basic auxiliary control 3/8"-24, G5

1шт.

25

D70292

ROD

control, basic auxiliary control

1шт.

26

F13790

PIN

CLEVIS PIN control rod, basic auxiliary control

1шт.

27

132-328

COTTER PIN,1/16" x 1/2"

PIN, SPLIT (COTTER), , Basic auxiliary control 1/16" x 1/2"

1шт.

28

D70288

BRACKET

auxiliary control valve mounting, basic auxiliary control

1шт.

29

113-207

BOLT,Hex, 3/8" - 16 x 1", Gr 5

Basic auxiliary control Hex, 3/8"-16 x 1", G5, Full Thd

2шт.

30

192-21

LOCK WASHER,3/8"

WASHER, LOCK, , Basic auxiliary control 3/8"

2шт.

31

129-103

NUT,Hex, 3/8" - 16, Gr 5

NUT, , Basic auxiliary control 3/8"-16, G5

2шт.

32

113-177

BOLT,Hex, 5/16" - 18 x 3", Gr 5

Basic auxiliary control Hex, 5/16"-18 x 3", G5

2шт.

33

192-20

LOCK WASHER,Helical Spring, 0.318" ID, CST, ZND

WASHER, LOCK, , Basic auxiliary control 5/16"

2шт.

34

9635082

NUT,5/16" - 18, Gr 5

Basic auxiliary control 5/16"-18, G5

2шт.

35

REF

INSTRUCTION

CONTROL VALVE auxiliary, one spool, parts list Figure: 174, basic auxiliary control

1шт.

36

D55216

PAD,2" x 9"

STRIP nonskid, basic auxiliary control

4шт.

Выбрано товаров: 37