Запчасти Case 1845B (040) - VALVE MECHANISM & CAMSHAFT, 188 DIESEL ENGINE (02) - ENGINE

Схема запчастей Case 1845B - (040) - VALVE MECHANISM & CAMSHAFT, 188 DIESEL ENGINE (02) - ENGINE
28
5
6
44
23
11
47
27
17
43
8
46
25
15
16
24
10
18
40
42
10
3
11
48
49
2
41
39
26
21
22
45
3
9
11
7
11
4
19
20
1
FIT
1:1
100%

Артикул

Название

Примечание

Количество

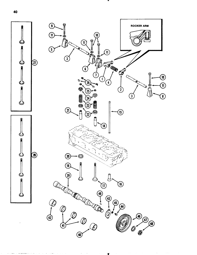
1

A51149

ARM

ASSEMBLY rocker, left, with adjusting screw

4шт.

2

A51148

ARM

ASSEMBLY rocker, right, with adjusting screw

4шт.

3

A38181

SHAFT

rocker

2шт.

4

G48501

SPRING

rocker shaft

4шт.

5

A36615

BRACKET

rocker shaft, rear

1шт.

6

G2101

BRACKET

rocker shaft, center

1шт.

7

A51084

BRACKET

rocker shaft, intermediate

2шт.

8

G2100

BRACKET

rocker shaft, front

1шт.

9

G49067

BOLT

rear bracket drilled

1шт.

10

13-656

BOLT,Hex, 3/8" - 16 x 3-1/2", Gr 5

hex, 3/8 NC x 3-1/2 inch

4шт.

11

A30058

WASHER

3/8 x 7/8 x 1/8 inch, 10 x 22 x 3 mm

5шт.

15

G47079

ROD

push

8шт.

16

G47077

TAPPET

LIFTER, push rod

8шт.

17

NSS

NOT SOLD SEPARAT

VALVE, intake, Order Ref. 27

4шт.

18

A152488

GUIDE

intake valve, Order G2068

4шт.

19

NSS

NOT SOLD SEPARAT

VALVE, exhaust, Order Ref. 29

4шт.

20

A39268

INSERT

exhaust, valve seat

1шт.

21

G2069

GUIDE

exhaust valve

4шт.

22

G49065

SEAT

valve spring

8шт.

23

A30025

SPRING

valve

8шт.

24

G11717

RETAINER

valve springs

8шт.

25

G46851

SEAL

valve stem rubber

8шт.

26

A30004

RETAINER

LOCK, retainers keepers

16шт.

27

A41726

VALVE

KIT, intake, Set of 4

1шт.

29

A41727

VALVE

KIT, exhaust, Set of 4

1шт.

39

A153521

CAMSHAFT

engine

1шт.

40

A41230

BUSHING,44.45mm ID x 47.75mm OD x 31.06mm L

front, 1-1/4 inch wide 32 mm

1шт.

41

A41231

BUSHING,44.5mm ID x 47.78mm OD x 12.45mm L

BUSHING intermediate, 1/2 inch wide 13 mm

3шт.

42

A151068

BUSHING,44.51mm ID x 47.92mm OD x 24.64mm L

rear, 31/32 inch wide 25 mm

1шт.

43

A29290

PLATE

camshaft thrust

1шт.

44

A30056

SCREW,Hex, 5/16" - 18 x 1/2"

BOLT thrust plate

2шт.

45

193-9

LOCK WASHER,Ext Tooth, 5/16"

WASHER, LOCK, Ext Tooth, 5/16"

2шт.

46

A38931

GEAR

camshaft

1шт.

47

A29438

LOCK NUT

LOCK camshaft nut

1шт.

48

A30063

NUT

camshaft

1шт.

49

126-12

WOODRUFF KEY,#6, 5/32" x 5/8"

1шт.

Выбрано товаров: 36