Запчасти Case 1845B (048) - PISTONS, 188 DIESEL ENGINE (02) - ENGINE

Схема запчастей Case 1845B - (048) - PISTONS, 188 DIESEL ENGINE (02) - ENGINE
18
9
10
5
2
22
7
4
17
6
12
21
19
11
3
8
16
FIT
1:1
100%

Артикул

Название

Примечание

Количество

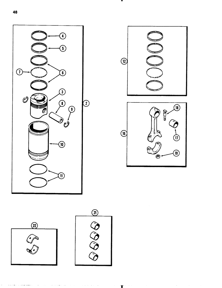
2

A151995

SLEEVE ASSY

PISTON ASSEMBLY Set of 1, Inc: Ref. 3 - 11

4шт.

3

A38424

PISTON

engine

1шт.

4

A51189

RING

compression, top groove See Ref. 12

1шт.

5

G4817

RING

compression, second groove See Ref. 12

1шт.

6

G47155

RAIL

oil control, third groove See Ref. 12

2шт.

7

G47174

SPRING

SPACER oil control rail See Ref. 12

1шт.

8

A35770

PISTON PIN,31.75mm OD x 80.44mm L

PIN piston

1шт.

9

G46702

RING, LOCKING

RING piston pin retaining

2шт.

10

A39006

SLEEVE

piston

1шт.

11

G46888

O-RING,3.737" ID x 3.943" OD

3-3/4 x 3-7/8 x 1/8 inch 95 x 98 x 3 mm

2шт.

12

A151857

PISTON RING SET

RING KIT piston re-ring Set of 1

4шт.

16

A136931

ROD, CONNECTING

ROD ASSEMBLY connecting, Inc: Ref. 17 - 19, connecting rod

4шт.

17

NSS

NOT SOLD SEPARAT

BUSHING piston pin Order A44083 Kit, connecting rod

1шт.

18

G49064

STEP BOLT

BOLT connecting rod bearing cap, connecting rod

2шт.

19

A51904

NUT

NUT bearing cap bolt, connecting rod

2шт.

21

A44083

KIT

BUSHING SET piston pin Set of 4, connecting rod

1шт.

22

A46050

BEARING LINER,53.66mm ID x 56.82mm OD x 26.67mm W

INSERT connecting rod bearing, standard Set of 2

4шт.

22

A46051

BEARING LINER

INSERT connecting rod bearing, 0.002 inch undersize, 0.0508 mm, Set of 2

4шт.

22

A46052

BEARING LINER,53.4mm ID x 56.82mm OD x 26.67mm W

INSERT connecting rod bearing, 0.010 inch undersize 0.254 mm, Set of 2

4шт.

22

A46053

BEARING LINER,53.15mm ID x 56.82mm OD x 26.67mm W

INSERT connecting rod bearing, 0.020 inch undersize 0.508 mm, Set of 2

4шт.

22

A46054

BEARING LINER

INSERT connecting rod bearing, 0.030 inch undersize 0.762 mm, Set of 2

4шт.

Выбрано товаров: 21