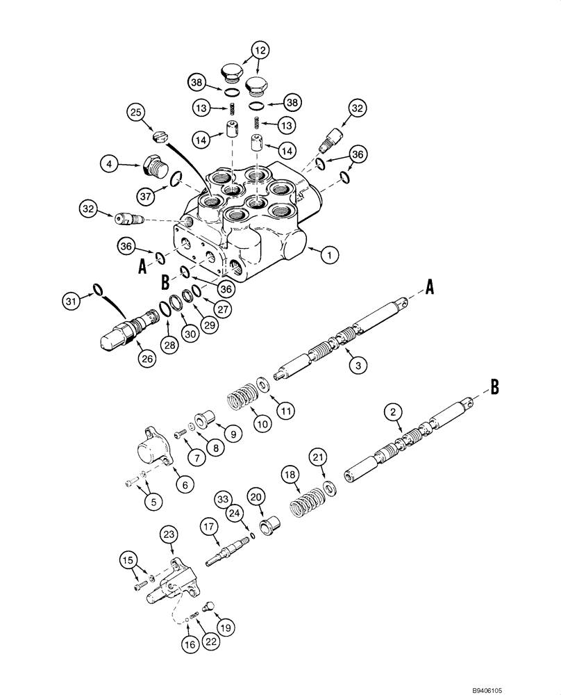
Запчасти Case 1845C (08-15) - VALVE, CONTROL - LOADER, JAF0122751 - (08) - HYDRAULICS

Схема запчастей Case 1845C - (08-15) - VALVE, CONTROL - LOADER, JAF0122751 - (08) - HYDRAULICS
28
7
1
10
13
23
26
8
36
30
13
19
5
24
15
22
32
25
20
21
14
38
9
27
16
2
17
4
33
12
14
6
29
3
11
36
38
31
32
36
37
18
FIT
1:1
100%

Артикул

Название

Примечание

Количество

108220A1

VALVE

Loader Control; Incl. 1 - 38

1шт.

1

NSS

NOT SOLD SEPARAT

Body

1шт.

2

NSS

NOT SOLD SEPARAT

Spool Loader

1шт.

3

NSS

NOT SOLD SEPARAT

Spool Loader Bucket

1шт.

4

132547A1

PLUG

Power Beyond

1шт.

H674816

KIT

Centering Spring; Incl. 5 - 11

1шт.

5

221655A1

CAPTIVE WASHER SCREW,Phillips Drive, Round HD, #12 - 24 x 1/2"

Incl. Washer

2шт.

6

N9528

CAP

1шт.

7

62-7108

HEX SOC SCREW,Btn Hd, #10 - 32 x 1/2"

1шт.

8

492-11010

LOCK WASHER,#10

1шт.

9

N9529

SEAT

1шт.

10

N9539

TENSION SPRING

1шт.

11

495-11034

WASHER,5/16", SAE

(11/32 x 11/16 x 1/16")

1шт.

142999A1

KIT

Load Check; Replaces H673572; Incl. 12 - 14

2шт.

12

NSS

NOT SOLD SEPARAT

Plug

1шт.

13

NSS

NOT SOLD SEPARAT

Spring

1шт.

14

NSS

NOT SOLD SEPARAT

Poppet, Valve

1шт.

H673573

KIT

Detent Float; Incl. 15 - 24

1шт.

15

NSS

NOT SOLD SEPARAT

Screw; Incl. Washer

2шт.

16

NSS

NOT SOLD SEPARAT

Ball

2шт.

17

NSS

NOT SOLD SEPARAT

Spool

1шт.

18

D86558

SPRING

1шт.

19

D86560

SCREW

2шт.

20

D86559

SEAT

1шт.

21

D86557

WASHER

1шт.

22

N9506

COIL SPRING

2шт.

23

N9540

COVER

Incl. 24

1шт.

24

NSS

NOT SOLD SEPARAT

O-Ring

1шт.

25

H436436

PLATE

1шт.

26

H673574

VALVE, PRESSURE RELI

EF Valve, Relief; Incl 27 - 31B

1шт.

H674535

GASKET KIT

Incl. 27 - 31B

1шт.

H673570

SEAL PACKAGE

Incl. 27 - 30

1шт.

27

238-6015

O-RING,0.07" Thk x 0.551" ID, -15, Cl 6, 90 Duro

1шт.

28

238-6017

O-RING,0.07" Thk x 0.676" ID, -17, Cl 6, 90 Duro

1шт.

29

H438044

GASKET

1шт.

30

H438329

GASKET

1шт.

31

H438328

SEAL,7.94mm ID x 11.11mm OD x 1.59mm Thk

5/16 x 1/16

1шт.

31a

H438228

NUT

Nut, 3/8-24UNF; Not Illustrated

1шт.

31b

H438229

ADJUSTMENT SCREW

Bolt, 3/8-24UNF; Not Illustrated

1шт.

32

H673742

VALVE

Secondary; Incl. 33 - 35

1шт.

33

H438339

GASKET

1шт.

34

237-6008

O-RING,0.087" Thk x 0.644" ID, -908, Cl 6, 90 Duro

Not Illustrated

2шт.

35

238-6014

O-RING,0.07" Thk x 0.489" ID, -14, Cl 6, 90 Duro

Not Illustrated

2шт.

35a

185499A1

BLOCK

0.098; Shim; Not Illustrated

1шт.

35b

185500A1

BLOCK

0.021; Shim; Not Illustrated

4шт.

35c

185501A1

BLOCK

0.035; Shim; Not Illustrated

5шт.

36

H438030

O-RING

5/8 x 13/16

4шт.

37

237-6012

O-RING,0.116" Thk x 0.924" ID, -912, Cl 6, 90 Duro

1шт.

38

NSS

NOT SOLD SEPARAT

O-Ring; Load Check

2шт.

H673743

SEAL PACKAGE

Incl. H673570, 33 - 38

1шт.

Выбрано товаров: 50