Запчасти Case 1845C (09-05) - CASE COUPLER - SIDE LEVER, JAF0041368 - JAF0179684 (09) - CHASSIS/ATTACHMENTS

Схема запчастей Case 1845C - (09-05) - CASE COUPLER - SIDE LEVER, JAF0041368 - JAF0179684 (09) - CHASSIS/ATTACHMENTS
7
13
1
23
11
19
5a
14
8
3
19
17
25
24
20
2
14
6
4
12
5
21
16
19
14
18a
22
14
18
19a
10
4a
15
FIT
1:1
100%

Артикул

Название

Примечание

Количество

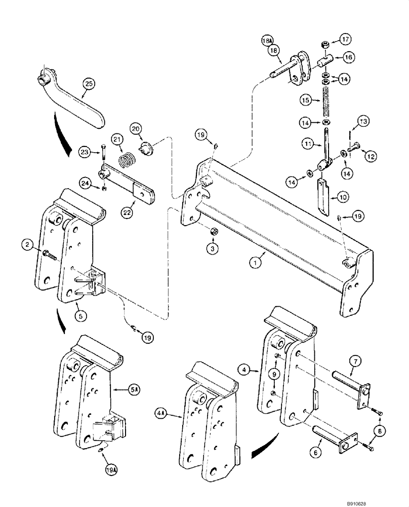
1

H673519

FRAME

1шт.

2

413-828

BOLT,Hex, 1/2" - 13 x 1-3/4", Gr 5

6шт.

3

232-4118

NUT,1/2"-13, GC

6шт.

4

H673514

COUPLING

RH; No Longer Available, Order H674803

1шт.

4a

H674803

COUPLING

RH; Replaces H673514

1шт.

5

H673513

COUPLING

LH; No Longer Available, Order H674804

1шт.

5a

H674804

COUPLING

LH; Replaces H673513

1шт.

6

H673534

LARGE PIN,31.75mm OD x 158mm L

PIN, LARGE Lower

2шт.

7

H673520

PIN

Upper

2шт.

8

413-624

BOLT,Hex, 3/8" - 16 x 1-1/2", Gr 5

4шт.

9

232-4116

NUT,3/8"-16, GC

4шт.

10

H436000

WEDGE

2шт.

11

H673349

ROD

2шт.

12

427-8168

CLEVIS PIN,12.7mm OD x 42.88mm L

2шт.

13

432-816

COTTER PIN,1/8" x 1"

2шт.

14

195-533

WASHER,1/2", SAE

(17/32 x 1-1/16 x 3/32)

10шт.

15

D124197

SPRING

2шт.

16

H436001

TRUNNION

2шт.

17

232-4118

NUT,1/2"-13, GC

2шт.

18

H673346

CRANK

Used with H673344; No Longer Available, Order H673856

2шт.

18a

H673856

CRANK

Used with H436936, H436937; Replaces H673346

2шт.

19

219-1

LUBE NIPPLE,1/8" - 27 NPTF

If Used

2-4шт.

19

219-86

LUBE NIPPLE,1/8" NPTF

If Used

2шт.

20

H673583

SLEEVE

2шт.

21

H436051

SPRING

2шт.

22

H673344

LEVER

No Longer Used; Order H436936, H436937

2шт.

23

426-528

BOLT,Hex, 5/16" - 18 x 1-3/4", Gr 8

2шт.

24

232-4115

LOCK NUT,5/16"-18, GC

2шт.

25

H436936

LEVER

LH; Used with H674804; No Longer Available, Order 227873A1; See Fig 09-07, Ref 5

1шт.

26

H436937

LEVER

RH; Used with H674803; Not Illustrated; No Longer Available, Order 227873A1; See 09-07, Ref 5

1шт.

27

138-329

LOCK PIN,5/16" x 1 1/4", Slotted

No Longer Used, Order 426-528, 131-1215

2шт.

H675086

SET

Coupler; - JAF0080377; Not Illustrated

1шт.

Выбрано товаров: 32