Запчасти Case 1845C (09-38) - NOISE CONTROL - PADS AND PANELS (09) - CHASSIS/ATTACHMENTS

Схема запчастей Case 1845C - (09-38) - NOISE CONTROL - PADS AND PANELS (09) - CHASSIS/ATTACHMENTS
4
16
5
6
18
15
17
10
13
10
19
19
15
14
10
2
10
18
5
1b
1a
1
10
13
16
19
14
9
18
12
8
16
10
15
7
FIT
1:1
100%

Артикул

Название

Примечание

Количество

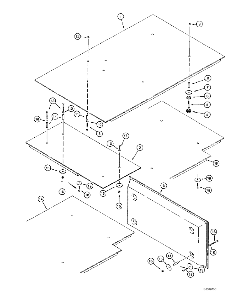
1

D136088

HEAD

Headliner; ROPS; Brown; - JAF0080862; No Longer Available, Order H438905

1шт.

1a

H435459

HEAD

Headliner; ROPS; Brown; - JAF0080862; No Longer Available, Order H438905

1шт.

1b

H438905

SLIDE

Headliner; ROPS; Brown; JAF0080863 -

1шт.

1b

179277A2

PANEL

Headliner; ROPS; Gray; JAF0080863 -; Replaces 179277A1

1шт.

2

D136089

SHIELD

Upper

1шт.

3

D136090

SHIELD

Rear

1шт.

4

D134923

CAP

3шт.

5

413-436

BOLT,Hex, 1/4" - 20 x 2-1/4", Gr 5

6шт.

6

D136109

WASHER

4 in

3шт.

7

D136108

WASHER

3шт.

8

D136111

SPACER

3шт.

9

231-5144

SERRATED NUT,Flg, USR, 1/4"-20

3шт.

10

495-11028

WASHER,1/4", SAE

(9/32 x 5/8 x 1/16")

11шт.

11

D136110

SPACER

32 mm (1/4 in)

3шт.

12

231-5144

SERRATED NUT,Flg, USR, 1/4"-20

3шт.

13

413-432

BOLT,Hex, 1/4" - 20 x 2", Gr 5

6шт.

14

D136111

SPACER

Heat Shield

6шт.

15

D136108

WASHER

8шт.

16

231-5144

SERRATED NUT,Flg, USR, 1/4"-20

8шт.

17

413-416

BOLT,Hex, 1/4" - 20 x 1", Gr 5

2шт.

18

413-424

BOLT,Hex, 1/4" - 20 x 1-1/2", Gr 5

JAF0080863 -

6-10шт.

19

D136108

WASHER

JAF0080863 -

6-10шт.

Выбрано товаров: 22