Запчасти Case 1845C (09-64A) - SPECIAL PARTS FOR ITALY - BUCKET LOCKOUT; LOCK, LOADER CONTROL (09) - CHASSIS/ATTACHMENTS

Схема запчастей Case 1845C - (09-64A) - SPECIAL PARTS FOR ITALY - BUCKET LOCKOUT; LOCK, LOADER CONTROL (09) - CHASSIS/ATTACHMENTS
2
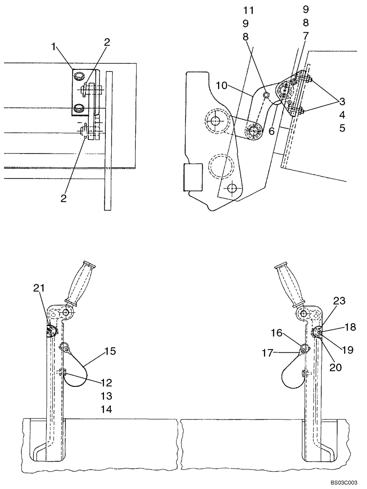
17
1
12
8
20
2
4
9
11
15
5
9
13
21
7
16
8
14
3
6
23
19
10
18
FIT
1:1
100%

Артикул

Название

Примечание

Количество

1

116970A1

SUPPORT

LH

1шт.

1

116971A1

SUPPORT

RH; Not Illustrated

1шт.

2

A30338

PIN

4шт.

3

413-824

BOLT,Hex, 1/2" - 13 x 1-1/2", Gr 5

4шт.

4

H274894

WASHER

1/2

4шт.

5

231-5148

FLANGE NUT,Flg, USR, 1/2"-13

4шт.

6

L78786

CABLE RETAINER

4шт.

7

413-620

BOLT,Hex, 3/8" - 16 x 1-1/4", Gr 5

2шт.

8

495-11041

WASHER,0.406" ID x 0.812" OD x 0.065" W

(13/32 x 13/16 x 1/16")

4шт.

9

231-5146

FLANGE NUT,3/8"-16

4шт.

10

121527A1

LINK

Bucket Lock

2шт.

11

413-628

BOLT,Hex, 3/8" - 16 x 1-3/4", Gr 5

2шт.

12

413-512

BOLT,Hex, 5/16" - 18 x 3/4", Gr 5

2шт.

13

231-5145

SERRATED NUT,Flg, USR, 5/16"-18

2шт.

14

NSS

NOT SOLD SEPARAT

Eyelet

2шт.

15

H439278

ELECTRICAL WIRE

WIRE

2шт.

16

H437134

LINCH PIN,6.3mm OD

2шт.

17

223-54

TERMINAL CONNECTOR,10 - 12

2шт.

18

121964A1

FASTENER

2шт.

19

121965A1

BAR

2шт.

20

425-156

JAM NUT,Jam, 3/8"-24, G5

2шт.

21

H439133

DECAL

Location; Not Illustrated

2шт.

22

124910A1

DECAL

German/Italian; Use Lock Pin When Driving On Public Roads; Not Illustrated

2шт.

23

495-11041

WASHER,0.406" ID x 0.812" OD x 0.065" W

(13/32 x 13/16 x 1/16")

4шт.

Выбрано товаров: 24